首页
图纸下载
冲压模具
塑胶模具
数控编程
机械设备
家用电器
更多
软件下载
二维软件
三维软件
编程软件
CAE软件
系统软件
更多
图文资讯
软件应用
模具制造
机械制造
机械知识
平面设计
其他
软件安装
帮助中心
注册问题
登录问题
上传问题
下载问题
充值问题
更多
在线视频
新站课程
本站课程
在线问答
登录
注册
成形
最新标签
HTML
入门
精通
摩托车
三轮
狂想
两栖
图文
作用
水泵
诱导
前置
视频
测试
咨询
售后
违规
注册
登录
充值
积分
流程
提现
编号
大小
提取
0167
XSSJUG
取值
旋切
毫米
按照
上传
退稿
稿件
无法
账号
注销
站上
qiufukang
右上角
绑定
下拉
帐号
原作者
以下简称
本站
协议
会员
其它
刀路
桃木
夹板
关联性
鸟瞰
文章
PAUSE
command
主视图
长度
RCDATA
计算
ID
开发
雕刻机
生成
注释
端盖
中设
标题
回到
外公切线
圆心
立体
实验
布局
浮动
外部
参照
网格
多线
显示
缩放
特性
编组
门厅
源点
附着
光源
图片
一圆
基点
SolidEdge
教程
属性
10.3
有的
弧段
正交
栅格
及图
文章排序
时间
标题
热度
留言
随机
黄金VIP免费
Autoform_R7软件下载
成形
模具
板料
高强板车身件热冲压成形技术最新进展总结一览
冲压
成形
冷却
零件
分享冲压模具常见卷圆结构设计标准
冲头
工位
成形
夹板
大神分享冲压拉伸成型工艺的16种类型!!!
拉伸
加工
变形
成形
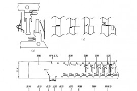
端盖冲压成形工艺及模具设计
端盖
模具设计
成形
冲压
工艺
告诉你热冲压和液压成形技术应用及发展趋势
成形
冲压
超高强钢冲压成形性能分析,非常详细!!!
成形
材料
五金模具设计:你必须了解的端子模具设计几大技巧
间隙
模板
成形
冲压模具设计:汽车模具工艺设计举例讲解
零件
工艺
成形
防撞梁热冲压工艺分析研究,非常详细!
零件
成形
铝车门外板冲压成形工艺分析及试制验证,干货满满!!!
成形
冲压
如何实现在侧围外板冲压成形时,减少一道工序降低成本
成形
冲压
汽车冲压模具设计与成形工艺分享,毕生所学经验分享
模具设计
成形
冲压
金属板材渐进成形理论分析,干货满满!
零件
成形
还不会冲模切断设计标准,你怎么搞设计呢?
设计培训
如图
冲头
成形
汽车模具耐热钢中厚板通用弯曲模设计,原来还可以这样做
板料
弯曲
成形
圆角
热冲压成型--CAE分析实例,干货满满!
板料
零件
成形
如图
工艺
模具行业12种模具详细分类,有你所在的行业么?
制件
成形
模具
成型
轿车顶盖尾部在拉深整形后出现起皱,原来问题出在这个工序上 ...
制件
整形
成形
工艺
翻边成形时符型不良?设计一款整形模压料机构或能解决
制件
成形
冲压模具在成形过程中要如何有效的避免弯曲回弹?这资料值得收藏 ...
弯曲
板料
成形
冲压件
「技术文」高强度钢板的冲压形状冻结改善技术
成形
弯曲
冲头
汽车冲压模具设计:车架内外纵梁一体成形模具设计案例分析总结 ...
成形
卸料
导正
冲压定位方式:汽车冲压件在模具中如何定位,这文章分析的很到位 ...
冲压件
定位
板料
成形
冲压件常见的缺陷类型及处理方案
制件
材料
成形
缺陷
模拟AutoForm的热冲压工艺优化设计
成形
制件
板料
如图
冷却
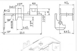
连续模具设计:小型多项弯曲件的设计,最佳工艺排样与结构绘制 ...
弯曲
零件
成形
卸料
资深大神分享模具设计到产品端的尺寸控制分析,收藏下吧!!! ...
成形
模具
尺寸
排气
小型多向弯曲件的级进模设计
弯曲
零件
成形
卸料
塑胶模具的分类与塑胶成形注意事项!
成形
塑胶
冲压模具设计-AUTOFORM的变压变力拉延成形的讲解
模具设计
成形
冲压
汽车冲压模具设计与成形工艺30个经验!
模具设计
成形
冲压
工艺
1
2
3
首页
发布
用户中心
积分充值
开通会员
客服