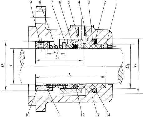
154a型机械密封主要尺寸 (mm)

1—防转销 2、6、12、14—密封圈 3—撑环 4—静止环 5—旋转环 7—推环 8—弹簧 9—紧定螺钉 10—键 11—传动座 13—密封端盖
规 格 | 35 | 40 | 45 | 50 | 55 | 60 | 65 | 70 | |
公 称 尺 寸 | d | 35.0 | 40.0 | 45.0 | 50.0 | 55.0 | 60.0 | 65.0 | 70.0 |
D | 55.0 | 60.0 | 65.0 | 70.0 | 75.0 | 80.0 | 90.0 | 97.0 | |
D1 | 45.0 | 50.0 | 55.0 | 60.0 | 65.0 | 70.0 | 80.0 | 85.0 | |
D2 | 50.0 | 59.0 | 64.0 | 69.0 | 74.0 | 82.0 | 88.0 | 93.0 | |
L1 | 49.0 | 51.5 | 55.5 | 59.5 | 60.5 | 61.5 | 69.5 | 71.5 | |
L2 | 17.5 | 20.0 | 24.0 | 28.0 | 28.9 | 30.0 | 35.0 | 36.0 | |
L | 68.0 | 70.5 | 74.5 | 78.5 | 79.5 | 80.5 | 91.5 | 96.5 | |
免责声明:
1;所有标注为智造资料网zl.fbzzw.cn的内容均为本站所有,版权均属本站所有,若您需要引用、转载,必须注明来源及原文链接即可,如涉及大面积转载,请来信告知,获取《授权协议》。
2;本网站图片,文字之类版权申明,因为网站可以由注册用户自行上传图片或文字,本网站无法鉴别所上传图片或文字的知识版权,如果侵犯,请及时通知我们,本网站将在第一时间及时删除,相关侵权责任均由相应上传用户自行承担。
[complaint:内容投诉]
智造资料网打造智能制造3D图纸下载,在线视频,软件下载,在线问答综合平台 » 154a型机械密封(图文教程)
1;所有标注为智造资料网zl.fbzzw.cn的内容均为本站所有,版权均属本站所有,若您需要引用、转载,必须注明来源及原文链接即可,如涉及大面积转载,请来信告知,获取《授权协议》。
2;本网站图片,文字之类版权申明,因为网站可以由注册用户自行上传图片或文字,本网站无法鉴别所上传图片或文字的知识版权,如果侵犯,请及时通知我们,本网站将在第一时间及时删除,相关侵权责任均由相应上传用户自行承担。
[complaint:内容投诉]
智造资料网打造智能制造3D图纸下载,在线视频,软件下载,在线问答综合平台 » 154a型机械密封(图文教程)

