1、切 开
切开是将材料沿敞开轮廓局部而不是完全分离的一种冲压工序。被切开而分离的材料位于或基本位于分离前所处的平面。

2、切 边
切边是利用冲模修边成形工序件的边缘,使之具有一定直径、一定高度或一定形状的一种冲压工序。

3、切 舌
切舌是将材料沿敞开轮廓局部而不是完全分离的一种冲压工序。被局部分离的材料,具有工件所要求的一定 位置,不再位于分离前所处的平面上。

4、切 断
切断是将材料沿敞开轮廓分离的一种冲压工序,被分离的材料成为工件或工序件。

5、反拉深
反拉深是把空心工序件内壁外翻的一种拉深工序。

6、扩 口
扩口是将空心件或管状件敞开处向外扩张的一种冲压工序。

7、冲 孔
冲孔是将废料沿封闭轮廓从材料或工序件上分离的一种冲压工序,在材料或工序件上获得需要的孔。

8、冲 缺
冲缺是将废料沿敞开轮廓从材料或工序件上分离的一种冲压工序,敞开轮廓形成缺口,其深度不超过宽度。

9、冲 裁
冲裁是利用冲模使部分材料或工序件与另一部分材料、工(序)件或废料分离的一种冲压工序。冲裁是切断、落料、冲孔、冲缺、冲槽、剖切、凿切、切边、切舌、切开、整修等分离工序的总称。

10、冲 槽
冲槽是将废料沿敞开轮廓从材料或工序件上分离的一种冲压工序,敞开轮廓呈槽形,其深度超过宽度。

11、冲中心孔
冲中心孔是在工序件表面形成浅凹中心孔的一种冲压工序,背面材料并无相应凸起。

12、压 凸
压凸是用凸模挤入工序件一面,迫使材料流入对面凹坑以形成凸起的一种冲压工序。

13、压 花
压花是强行局部排挤材料,在工序件表面形成浅凹花纹,图案、文字或符号的一种冲压工序。被压花表面的背面并无对应于浅凹的凸起。

14、压 筋
压筋是起伏成形的一种。当局部起伏以筋形式出现时,相应的起伏成形工序称为压筋。

上为凸包,下为加强筋
15、成 形
成形是依靠材料流动而不依靠材料分离使工序件改变形状和尺寸的冲压工序的统称。

16、光洁冲裁
光洁冲裁是不经整修直接获得整个断面全部或基本全部光洁的冲裁工序。
17、扭 弯
扭弯是将平直或局部平直工序件的一部分相对另一部分扭转一定角度的冲压工序。

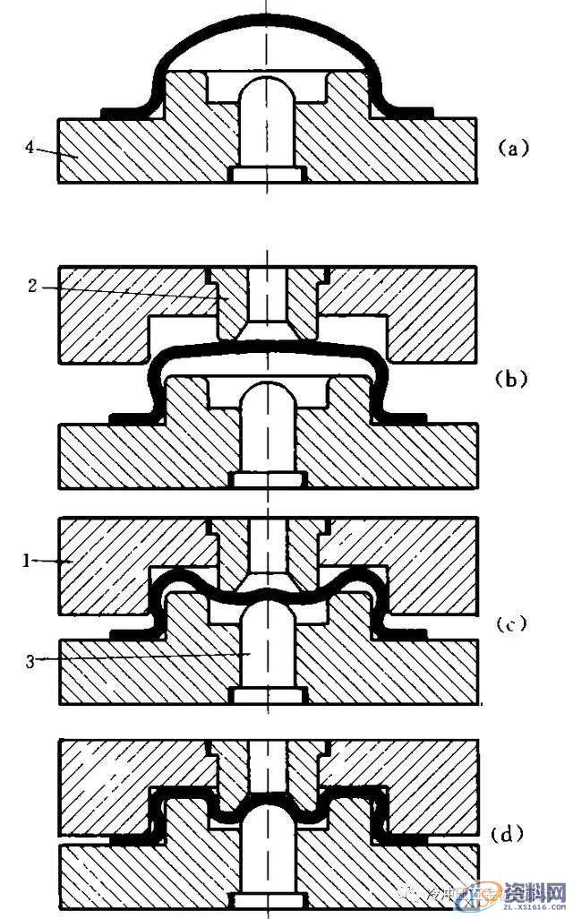
18、连续拉深
连续拉深是在条料(卷料)上,用同一副模具(连续拉深模)通过多次拉深逐步形成所需形状和尺寸的一种冲压方法。

19、卷 边
卷边是将工序件边缘卷成接近封闭圆形的一种冲压工序。卷边圆形的轴线呈直线形。

20、卷 缘
卷缘是将空心件上口边缘卷成接近封闭圆形的一种冲压工序。
21、拉 延
拉延是把平直毛料或工序件变为曲面形的一种冲压工序,曲面主要依靠位于凸模底部材料的延伸形成。

22、拉 弯
拉弯是在拉力与弯矩共同作用下实现弯曲变形,使整个弯曲横断面全部受拉伸应力的一种冲压工序。

23、拉 深
拉深是把平直毛料或工序件变为空心件,或者把空心件进一步改变形状和尺寸的一种冲压工序。拉深时空心 件主要依靠位于凸模底部以外的材料流入凹模而形成。

24、变薄拉深
变薄拉深是把空心工序件进一步改变形状和尺寸,意图性地把侧壁减薄的一种拉深工序。

25、胀 形
胀形是将空心件或管状件沿径向往外扩张的一种冲压工序。

26、剖 切
剖切是将成形工序件一分为几的一种冲压工序。

27、校 平
校平是提高局部或整体平面型零件平直度的一种冲压工序。
28、弯 曲
弯曲是利用压力使材料产生塑性变形,从而被弯成有一定曲率、一定角度的形状的一种冲压工序。

29、起伏成形
起伏成形是依靠材料的延伸使工序件形成局部凹陷或凸起的冲压工序。起伏成形中材料厚度的改变为非意图 性的,即厚度的少量改变是变形过程中自然形成的,不是设计指定的要求。

30、差温拉深
差温拉深是利用加热、冷却手段,使待变形部分材料的温度远高于已变形部分材料的温度,从而提高变形程 度的一种拉深工序。

31、深孔冲裁
深孔冲裁是孔径等于或小于被冲材料厚度时的冲孔工序。

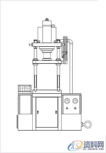
32、液压拉深
液压拉深是利用盛在刚性或柔性容器内的液体,代替凸模或凹模以形成空心件的一种拉深工序。

液压拉伸机
33、凿 切
凿切是利用尖刃的凿切模进行的落料或冲孔工序。凿切并无下模,垫在材料下面的只是平板,被冲材料绝大多数是非金属。

34、落 料
落料是将材料沿封闭轮廓分离的一种冲压工序,被分离的材料成为工件或工序件,大多数是平面形的。

35、精 冲
精冲是光洁冲裁的一种,它利用有带齿压料板的精冲模使冲件整个断面全部或基本全部光洁。

36、缩 口
缩口是将空心件或管状件敞口处加压使其缩小的一种冲压工序。

37、整 形
整形是依靠材料流动,少量改变工序件形状和尺寸,以保证工件精度的一种冲压工序。

38、整 修
整修是沿外形或内形轮廓切去少量材料,从而提高边缘光洁度和垂直度的一种冲压工序。整修工序一般也同时提高尺寸精度。
39、翻 孔
翻孔是沿内孔周围将材料翻成侧立凸缘的一种冲压工序。

1;所有标注为智造资料网zl.fbzzw.cn的内容均为本站所有,版权均属本站所有,若您需要引用、转载,必须注明来源及原文链接即可,如涉及大面积转载,请来信告知,获取《授权协议》。
2;本网站图片,文字之类版权申明,因为网站可以由注册用户自行上传图片或文字,本网站无法鉴别所上传图片或文字的知识版权,如果侵犯,请及时通知我们,本网站将在第一时间及时删除,相关侵权责任均由相应上传用户自行承担。
[complaint:内容投诉]
智造资料网打造智能制造3D图纸下载,在线视频,软件下载,在线问答综合平台 » 掌握这40种冲压工艺,助你轻松月入过万

