一. 引言
本篇老师主要以一款日本某品牌扫描仪底壳为例,全面介绍了扫描仪底壳塑胶注塑模具的设计。 扫描仪( scanner),是利用光电技术和数字处理技术,以扫描方式将图形或图像信息转换为数字信号的装置。扫描仪通常被用于计算机外部仪器设备,通过捕获图像并将之转换成计算机可以显示、编辑、存储和输出的数字化输入设备。

图1
二. 塑件分析
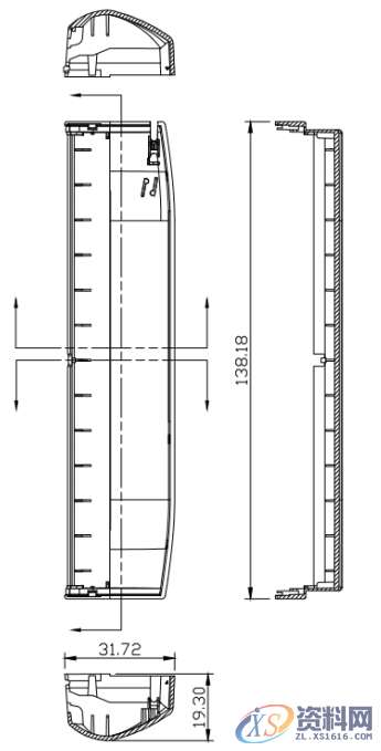
扫描仪底壳产品图如图 1 所示,塑件材料为 HIPS,塑件尺寸为 138.18mm*31.72mm*19.30mm,塑件质量为 66.78克, 塑件平均胶位厚度 1.5 mm, 塑件造型为长条半封闭型, 内部有 3 处骨位,需要设计斜顶,塑件长度方向的两端均需要设计滑块抽芯, 塑件属于手持电子产品,外观质量要求高,分型面夹线不得高于 0.05mm, 不得存在披风、烧焦、顶白、 色差不匀、银丝纹等各种缺陷。

图2

图3

图4

图5
三. 模具设计要点
1,型腔数量确定: 根据塑件的形状和尺寸, 模具设计确定了 1 出 2 的排位, 模胚为 LKM CI2030 标准模胚, 适合 100 吨注塑机生产,锁模力符合标准,机器注塑量也能满足要求。
2. 流道和浇口设计: 塑胶从主流道进入模具后,沿分流道分别经潜水口射入两个型腔,属于潜顶针进胶。
3, 滑块抽芯机构的设计: 两个产品的排位一反一正,并列排位,同侧的两个产品的滑块设计在同一个滑块上,缩小模具空间,由于铲机的受力较大,对铲机设计了反铲机构,见图 2-5模具设计图, 滑块的底部设计了耐磨块,并在其上开设油槽,两个滑块都有斜导柱驱动,具有结构简单运行平稳的特点。
4, 斜顶设计:产品内部存在 3 个扣位,见图 10所示 3D 图, 另个斜顶的运动方向垂直于塑件长边, 另有一个斜顶,如果按图 10所示假定的斜顶移动方向,亦即和其他两个斜顶的运动方向一致,就会有骨位阻挡,无法顶出。
倒扣,需要设计斜顶假定斜顶移动方向骨位阻挡斜顶遇到这种情况,通常会考虑沿着相互垂直的另外一个方向设计斜顶,巧妙地解决了斜顶顶出的问题。 注意对于同一个扣位, 利用不同的斜顶顶出方向, 斜顶行程不同, 因而角度也不同, 受力和强度也完全不同。 具体设计见模具图。
斜顶的结构很多, 每种结构都有不同的加工成本和模具寿命。 本例的两种斜顶角度分别为 3° 和 7°, 斜顶结构为穿销结构, 注意销钉需要与滚动面相切, 同时销钉直径不得小于 4mm, 销钉一般用废旧顶针改制。 斜顶的底部设计了耐磨板, 减小摩擦系数。
5,分型面设计: 前后模仁分型面见图 11,滑块分型面见图 10,滑块分型面选择做垂直方向分型, 滑块分型面是一个平面, 利于加工,便于提高加工精度。前后模仁的分型面基本上是一个平面,同样可以直接加工出来。选择分型面要尽可能能够 CNC 加工,磨床加工,尽可能避免 EDM 加工。
6, 冷却系统设计: 为了缩短注塑周期, 同时减小塑件变形, 模具设计了良好的冷却系统, 具体见模具结构图。 运水直径为 8mm,直通式运水管道不易积累水垢,冷却效率高。
图6

图7
7,导向和定位系统设计: 前后模仁板之间的定位采用圆锥定位件, 使模具长期保持定位精度。 顶针板上设计了中托司, 给顶出系统导向, 复位采用弹簧复位。
8,塑件顶出: 整个顶出系统除了斜顶顶出外, 另外设计了顶针顶出制品。

图8

图9
总结
通过试模后的情况表明, 模具结构设计合理, 完全满足了生产需求。 长期使用的模具, 斜顶上的油槽最好采用封闭型, 距离胶位 5mm 以上

图10

图11
东莞潇洒职业培训学校目前开设课程有:学历提升、积分入户、数控编程培训、塑胶模具设计培训,压铸模具设计培训、冲压模具设计培训,精雕、ZBrush圆雕培训、Solidworks产品设计培训、pro/E产品设计培训、AutoformR7工艺分析培训,非标自动化设计、PLC编程、CNC电脑锣操机、平面设计等培训,潇洒职业培训学校线下、线上等网络学习方式,随到随学,上班学习两不误,欢迎免费试学!
联系电话:13018636633(微信同号) QQ:1740467385
学习地址:东莞市横沥镇
1;所有标注为智造资料网zl.fbzzw.cn的内容均为本站所有,版权均属本站所有,若您需要引用、转载,必须注明来源及原文链接即可,如涉及大面积转载,请来信告知,获取《授权协议》。
2;本网站图片,文字之类版权申明,因为网站可以由注册用户自行上传图片或文字,本网站无法鉴别所上传图片或文字的知识版权,如果侵犯,请及时通知我们,本网站将在第一时间及时删除,相关侵权责任均由相应上传用户自行承担。
[complaint:内容投诉]
智造资料网打造智能制造3D图纸下载,在线视频,软件下载,在线问答综合平台 » 塑胶模具设计之扫描仪底壳设计方法

