已知毛坯尺寸为φ70×180,材质为 45 调质钢,根据下列零件图尺寸,完成零件的车削
加工造型(建模),生成加工轨迹,根据 FAUNC-0i 系统要求进行后置处理,生成 CAM 编程
NC 代码,最后将造型、加工轨迹和 NC 代码文件存放至机房主机服务器 D:\xxxxxx (xxxxxx
为准考证号码)中,不按指定地址存放者得 0 分。

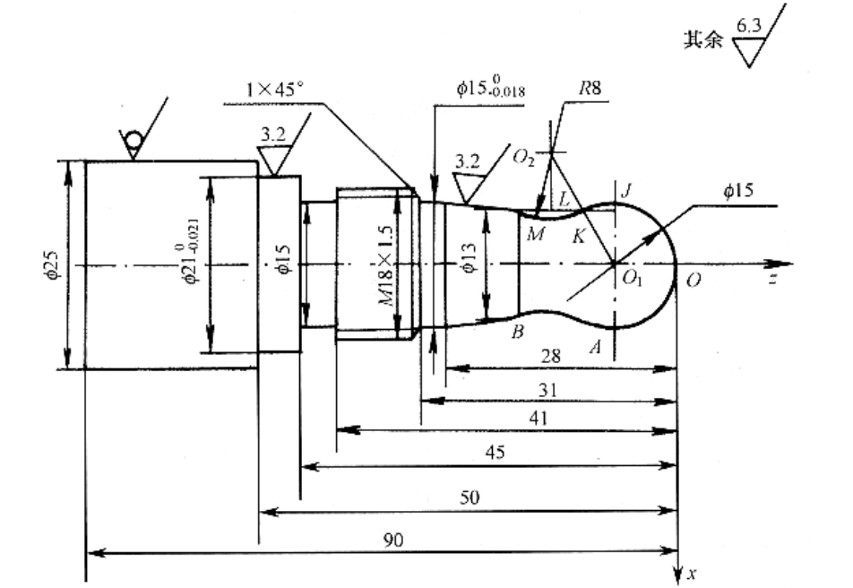
已知毛坯尺寸为φ25×95,材质为 45 调质钢,根据下列零件图尺寸,完成零件的车削加
工造型(建模),生成加工轨迹,根据 FAUNC-0i 系统要求进行后置处理,生成 CAM 编程 NC
代码,最后将造型、加工轨迹和 NC 代码文件存放至机房主机服务器 D:\xxxxxx (xxxxxx
为准考证号码)中,不按指定地址存放者得 0 分

免责声明:
1;所有标注为智造资料网zl.fbzzw.cn的内容均为本站所有,版权均属本站所有,若您需要引用、转载,必须注明来源及原文链接即可,如涉及大面积转载,请来信告知,获取《授权协议》。
2;本网站图片,文字之类版权申明,因为网站可以由注册用户自行上传图片或文字,本网站无法鉴别所上传图片或文字的知识版权,如果侵犯,请及时通知我们,本网站将在第一时间及时删除,相关侵权责任均由相应上传用户自行承担。
[complaint:内容投诉]
智造资料网打造智能制造3D图纸下载,在线视频,软件下载,在线问答综合平台 » 数控车软件应用试题(图文教程)
1;所有标注为智造资料网zl.fbzzw.cn的内容均为本站所有,版权均属本站所有,若您需要引用、转载,必须注明来源及原文链接即可,如涉及大面积转载,请来信告知,获取《授权协议》。
2;本网站图片,文字之类版权申明,因为网站可以由注册用户自行上传图片或文字,本网站无法鉴别所上传图片或文字的知识版权,如果侵犯,请及时通知我们,本网站将在第一时间及时删除,相关侵权责任均由相应上传用户自行承担。
[complaint:内容投诉]
智造资料网打造智能制造3D图纸下载,在线视频,软件下载,在线问答综合平台 » 数控车软件应用试题(图文教程)

