第十二章 机械加工工艺规程
产品在完成图样设计后正式投产之前,要对产品及其零件进行工艺规程的制定。工艺规程的设计是制造系统中技术、经验、信息流集中的焦点。不论生产类型如何都必须制定机械加工工艺规程,它直接关系到生产计划调度、工人操作、质量检验、生产准备、新建扩建车间等各个方面。工艺规程的设计与修改是一项严肃的工作,必须经过认真讨论和严格的审批手续,同时工艺规程的设计经过修改和完善才能不断地吸收先进经验、保证其合理性。本章仅对机械加工工艺过程设计的基本知识作简单的阐述。
第一节 机械加工工艺规程的基本概念
一、生产过程和工艺过程
1.生产过程
把原材料转变为成品的全过程,称为生产过程。生产过程一般包括:原材料的运输仓储保管、生产技术准备、毛坯制造、机械加工、含热处理、装配、检验、喷涂、包装和入库等。
2.工艺过程
在上述生产过程中凡是直接改变生产对象的形状、尺寸、相对位置和性质等,使之成为成品或半成品的过程称为工艺过程。工艺过程的种类较多,有毛坯制造、热处理、机械加工、装配等工艺过程。机械加工工艺过程是机械产品生产过程的一部分,是对机械产品中的零件采用各种加工方法直接用于改变毛坯的形状、尺寸、表面粗糙度以及力学物理性能,使之成为合格零件的全部劳动过程。
二、机械加工工艺过程的组成
机械加工工艺过程是由若干个顺序排列的工序组成的,机械加工中的每一个工序又可依次细分为安装、工位、工步和走刀。
1.工序

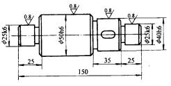
图12-1 阶梯轴简图
机械加工工艺过程的工序是指一个(或一组)工人在一个工作地点对一个(或同时对几个)工件连续完成的那一部分工艺过程。只要工人、工作地点、工作对象之一发生变化或不是连续完成,则应成为另一工序,因此同一个零件同样的加工内容可以有不同的工序安排,此外,零件的生产类型不同,为了提高生产率和加工经济性,加工过程中的工序划分也不同。如图12-1所示的阶梯轴,当加工数量较少时,工艺过程和工序的化分如表12-1所示,共有四道工序。在加工数量较多时如表12-2所示可分为六道工序。
数控加工中工序的划分比较灵活,不受该定义的限制。
工序是组成工艺过程的基本单元,也是生产计划和经济核算的基本依据。
表12-1 单件小批量生产工艺过程
工序号 | 工 序 内 容 | 设 备 |
1 | 车两端面、钻中心孔 | 车 床 |
2 | 车外园、车槽和倒角 | 车 床 |
3 | 铣键槽、去毛刺 | 铣床、钳工 |
4 | 磨外圆 | 磨 床 |
表12-2 大批量生产工艺过程
工序号 | 工 序 内 容 | 设 备 |
1 | 两端同时铣端面钻中心孔 | 专用机床 |
2 | 车一端外园、车槽和倒角 | 车 床 |
3 | 车外园、车槽和倒角 | 车 床 |
4 | 铣键槽 | 铣 床 |
5 | 去毛刺 | 钳 工 |
6 | 磨外圆 | 磨 床 |
2.安装
工件经一次装夹后所完成的那一部分工序内容,称为安装。在一道工序中工件可能只需要安装一次,也可能需要安装几次,表12-2的工序4中只需一次安装即可铣出键槽,表12-1工序2中至少两次安装才能完成全部工艺内容。
3.工位
在工件的一次安装中,通过分度(或移动)装置,使工件相对于机床床身变换加工位置,我们把每一个加工位置上的安装内容称为工位。在一个安装中,可能只有一个工位,也可能需要有几个工位。
4.工步
加工表面、切削刀具、切削速度和进给量都不变的情况下所完成的工位内容,称为一个工步。带回转刀架的机床(转塔车床、加工中心)其回转刀架的一次转位所完成的工位内容应属一个工步,此时若几把刀具同时参与切削,该工步称为复合工步。
三、 机械加工工艺规程
机械加工工艺规程是规定产品或零部件机械加工工艺过程和操作方法等的工艺文件。
为了使所制造出的零件能满足“保证质量、降低成本、提高生产率”的原则,零件的工艺过程就不能仅凭经验来确定,必需按照机械制造工艺学的原理和方法,结合生产实践和具体的生产条件下,以较合理的工艺过程和操作方法,并按图表或文字形式书写成工艺文件,经审批后用来指导生产。机械加工工艺规程有如下作用:
1. 机械加工工艺规程是机械加工工艺过程的主要技术文件,是计划、调度、加工操作、质量检验等的依据。生产单位有关人员必须遵守,才能保证零件的加工要求,获得较高的生产率和良好的经济效益。
2.机械加工工艺规程是新产品投产前生产准备和技术准备的依据。例如刀、夹、量具的设计,原材料、半成品外购件的供应,确定零件投料的时间和批量,调整设备负荷等必须以工艺规程为依据。
3.机械加工工艺规程是大批量生产中新建、扩建厂房的依据,用来确定生产所需设备种类数量、厂房面积、操作者工种及数量等。
机械加工工艺规程核心内容为:工艺路线、工序的具体内容、各工序所用的机床设备、切削用量及工时定额等。制定工艺规程的步骤和内容的流程图大致如下:

![]()
零件工艺分 析
确定毛坯制 造方式
选择定位基准
拟定工艺路线
确定各工序的设备及工艺装备
![]()
![]()
![]()
![]()
填写工艺文 件
确定切削用量及时间定额
确定加工余量及
工序尺寸
![]()
![]()
1;所有标注为智造资料网zl.fbzzw.cn的内容均为本站所有,版权均属本站所有,若您需要引用、转载,必须注明来源及原文链接即可,如涉及大面积转载,请来信告知,获取《授权协议》。
2;本网站图片,文字之类版权申明,因为网站可以由注册用户自行上传图片或文字,本网站无法鉴别所上传图片或文字的知识版权,如果侵犯,请及时通知我们,本网站将在第一时间及时删除,相关侵权责任均由相应上传用户自行承担。
[complaint:内容投诉]
智造资料网打造智能制造3D图纸下载,在线视频,软件下载,在线问答综合平台 » 机械制造工程_11.5机械加工工艺规程的基本概念(图文教程)

