一.填空:
1. 机构具有确定运动的条件是:___________________。
2. 在轴的初步计算中,轴的直径是按____来初步确定的。
3. 曲柄摇杆机构中,曲柄为主动件时,_________为死点位置。
(A)曲柄与连杆共线 (B)摇杆与连杆共线 (C)不存在
4. 凸轮机构基圆半径越_________,压力角越_________,机构传动性能越好。
5. 凸轮机构中的压力角是指_________间的夹角。
(A) 凸轮上接触点的法线与该点的线速度方向。
(B) 凸轮上的接触点的法线与从动件的运动方向。
(C) 凸轮上的接触点的切线与从动件的运动方向。
6. 键B18*50的含义是_____________________。
7. 普通平键的三种形式为_____,_____,_____。
8. 设计键联接的几项内容是:A:按轮毂宽度选择键长,B:按要求选择键的类型,
C:按轴的直径选择键的剖面尺寸,D:对联接进行必要的强度校核。
在具体设计时,一般顺序是_____________________。
9. 螺纹的公称直径是指它的_____。M16*2的含义是_____________________。
10. 用于薄壁零件联接的螺纹,宜采用_________。(A)梯形螺纹(B)三角形细牙螺纹(C)三角形粗牙螺纹
11. 某调整螺旋,采用双线粗牙螺纹,螺距为3mm,为使螺母相对螺杆沿轴向移动12mm,螺杆应转_____圈。
(A)3 (B)2 (C)4 (D)2.5
12. 国标规定,三角带有___________七种类型,代号B2280表示_____________。
13. 带传动主要依靠___________来传递运动和动力的。
(A) 带和两轮接触面之间的正压力 (B)带的紧边拉力 (C)带和两轮之间接触面之间的摩擦力(D)带的松边力
14. 工作条件与型号一定的三角带,其寿命随小带轮直径的增大而__。(A)增大(B)减小(C)无影响
15. 三角带横截面为等腰梯形,夹角为40度,则设计三角轮带时,轮槽夹角为__。
(A) 40度 (B)>40度 (C)<40度
16. 带传动的主动轮直径d1=180mm,转速n1=940rpm,从动轮直径d2=710mm,转速n2=233rpm,则弹性滑动系数为ε__。
17. 为使三角带传动种各根带受载均匀,带的根数不宜超过__根。(A)4 (B)6 (C)2 (D)10
18. 渐开线齿廓形状取决于_________大小。
19. 渐开线标准直齿圆柱齿轮正确啮合条件为:____________。
20. 齿轮传动的标准安装是指_______________。
21. 齿轮传动的重合度越大,表示同时参加啮合的轮齿数目_______,齿轮传动越____________。
22. 仿形法加工齿轮,根据被加工齿轮的____________选择刀号。
23. 滚动轴承“6312”的含义是____________。
24. 滚动轴承的额定动载荷是指____________。
25. 在正常条件下,滚动轴承的主要失效形式是____________。
(a) 滚动体碎裂
(b) 滚动体与滚道的工作表面产生疲劳点蚀。
(c) 保持架破坏。
(d) 滚道磨损。
二 判断正误(10分)
1.凸轮机构中,凸轮最大压力角出现于凸轮轮廓坡度较陡的地方。( )
2.普通平键联接是依靠键的上下两平面间的摩擦力来传递扭矩的。( )
3.带传动中弹性滑动现象是不可避免的。 ( )
4. m,α,ħa*,c*都是标准的齿轮是标准齿轮。 ( )
5.工作中转动的轴称为转轴。 ( )
三 简要回答:(4X5分)
1. 绘制下列机构图示位置的压力角。

2. 在螺旋升角,摩擦系数相同的情况下,试比较三角形,梯形,矩形螺纹的自锁性和效率(简述理由)。
3. 为什么要限制标准齿轮的最少齿数?
4. 在选择大小齿轮材料及热处理方法时,应考虑一个什么问题,为什么?
四 计算题:(20分)
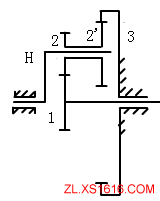
(7分)1.计算图示机构的自由度,并判定其是否具有确定的运动。

(13分)2.图示轮系,已知Z1=30,Z2=20,Z2`=30,`Z3=74,且已知n1=100转/分。试求nH。

参考答案
该文章所属专题:机械设计基础试题
参考答案:
| 一 、填空: |
| 1 原动件数等于自由度数 |
| 2 扭转强度 |
| 3 不存在 |
| 4 大、小 |
| 5 凸轮上接触点的法线与该点的线速度方向 |
| 6 B 型 长度50mm |
| 7 A B C |
| 8 B C A D |
| 9 外径 细牙螺纹外径16螺距2 |
| 10 三角形细牙螺纹 |
| 11 2 |
| 12 Y Z A B C D E B 型 长度2280mm |
| 13 带和两轮之间接触面之间的摩擦力 |
| 14 增大 |
| 15 <40度 |
| 16 0.022 |
| 17 10 |
| 18 基圆 |
| 19 模数压力角相等 |
| 20 节圆分度圆重合 |
| 21 多 平稳 |
| 22 Z m |
| 23 深沟球轴承 直径系列3内径60 |
| 24 L=1(106转)时承受的载荷 |
| 25 滚动体与滚道的工作表面产生疲劳点蚀。 |
| 二、判断正误 |
| 1 对 |
| 2 错 |
| 3 对 |
| 4 错 |
| 5 错 |
| 三、简要回答 |
| 1 图 |
| 2 由于牙型角三角螺纹自锁最好,梯形次之,矩形最差。效率矩形自锁最好,梯形次之,三角螺纹最差。 |
| 3 范成法加工齿轮齿数少于17发生根切 |
| 4 配对材料大齿轮硬度大小齿轮硬度50左右 因为小齿轮受载次数多,齿根薄 |
| 四 计算题 |
| 1 2 具有确定的运动 |
| 2 n3=0 (n1-nH)/(-nH)=-Z2Z3/Z1Z2' n1/nH=2.64 nH=37.88 |
该文章所属专题:机械设计基础试题
1;所有标注为智造资料网zl.fbzzw.cn的内容均为本站所有,版权均属本站所有,若您需要引用、转载,必须注明来源及原文链接即可,如涉及大面积转载,请来信告知,获取《授权协议》。
2;本网站图片,文字之类版权申明,因为网站可以由注册用户自行上传图片或文字,本网站无法鉴别所上传图片或文字的知识版权,如果侵犯,请及时通知我们,本网站将在第一时间及时删除,相关侵权责任均由相应上传用户自行承担。
[complaint:内容投诉]
智造资料网打造智能制造3D图纸下载,在线视频,软件下载,在线问答综合平台 » 机械设计基础试题(8)(图文教程)

