一、圆柱螺旋线及螺纹的形成
(一)圆柱螺旋线

如图9-1a所示,一动点A
沿圆柱表面绕其轴线作等速回转运动,同时沿母线作等速直线运动所形成的轨迹称为圆柱螺旋线。
动点A
旋转一周沿轴向移动的距离A
A
称为导程(P
)。图9-1b为圆柱螺旋线的两面投影图。将圆柱表面展开,螺旋线随之展成为一倾斜直线,如图9-1c所示。该倾斜直线为直角三角形的斜边,底边为圆柱底圆的周长πd,另一直角边为导程P
。斜边与底边的夹角ψ,称为导程角。导程角ψ可由三角关系确定:
Tan
=
直角三角形中的另一锐角β称为螺旋角,β=90°-
。
(二)螺纹的形成

在圆柱(或圆锥)表面上,沿着螺旋线所形成的具有规定牙型的连续凸起,称为螺纹。不少零件的表面上都制有螺纹。制在零件外表面上的螺纹称为外螺纹,制在内表面上的螺纹称为内螺纹,如图9-2所示。
加工螺纹的方法很多。图9-3为在车床上加工内、外螺纹的示意图,工件作等速旋转运动。刀具沿工件轴向作等速直线移动,其合成运动使切入工件的刀尖在工件表面切制出螺纹来。在箱体、底座等零件上制出的内螺纹(螺孔,一般是先用钻头钻孔,再用丝锥攻出螺纹,如图9-4所示。图中加工的为不穿通螺孔。钻孔时钻头顶部形成一个锥坑,其锥顶角按120°画出。
二、螺纹的基本要素和分类
(一)螺纹的基本要素
螺纹的结构和尺寸是由牙型、大径和小径、螺距和导程、线数、旋向等要素确定的。
1.螺纹牙型
在通过螺纹轴线的断面上,螺纹的轮廓形状称为螺纹牙型。它由牙顶、牙底和两牙侧构成,形成一定的牙型角。常见的螺纹牙型有三角形、梯形、锯齿形和矩形等多种,它们的牙型角、牙型符号见表9-1。
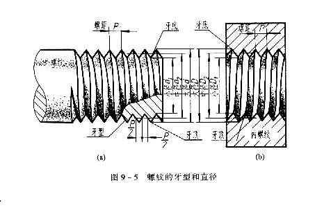
2.大径、小径和中径
外螺纹的大径、小径和中径分别用符号d、d
和d
表示;内螺纹的大径、小径和中径分别用符号D、D
和D
表示,如图9-5所示。
(1)大径与小径 与外螺纹牙顶或内螺纹牙底相切的假想圆柱直径,称为大径。与外螺纹牙底或内螺纹牙顶相切的假想圆柱直径,称为小径。
外螺纹的大径d与内螺纹的小径D
又称顶径。外螺纹的小径d
与内螺纹的大径D又称底径。
代表螺纹尺寸的直径称为公称直径,一般指螺纹大径的基本尺寸。
(2)中径 在大径与小径圆柱之间有一假想圆柱,在其母线上牙型的沟槽和凸起宽度相等。此假想圆柱称为中径圆柱,其直径称为中径。它是控制螺纹精度的主要参数之一。
3.线数n
螺纹有单线和多线之分:沿一条螺旋线所形成的螺纹称为单线螺纹;沿两条或两条以上,且在轴向等距分布的螺旋线所形成的螺纹称为多线螺纹,如图9-6所示。

4.导程P
与螺距P
同一条螺旋线上的相邻两牙在中径线上对应两点间的轴向距离称为导程,以P
表示。相邻两牙在中径线上对应两点间的轴向距离称为螺距,以P表示。单线螺纹的导程等于螺距,既P
=P,如图9-6a所示;多线螺纹的导程等于线数乘以螺距,即P
=n P。对于图9-6b的双线螺纹,则P
=2P。
5.旋向

螺纹旋向分右旋和左旋两种,如图9-7所示。顺时针方向旋转时沿轴向旋入的螺纹是右旋螺纹,其可见螺旋线表现为左低右高的特征,如图9-7b所示;逆时针旋转时沿轴向旋入的螺纹称为左旋螺纹,其可见螺纹线具有左高右低的特征,如图9-7a所示。工程上以右旋螺纹应用为多。
螺纹由牙型、公称直径、螺距、线数和旋向五个要素所确定,通常称为螺纹五要素。只有这五要素都相同的外螺纹和内螺纹才能相互旋合。
(二)螺纹的分类
国家标准对上述五项要素中的牙型、公称直径和螺距做了规定。三要素均符合规定的螺纹称为标准螺纹,此外称为非标准螺纹(如方牙螺纹)。
螺纹按用途不同又可分为连接螺纹和传动螺纹两类。表9-1列举了常用标准螺纹的牙型、牙型符号及有关说明。
该文章所属专题:机械制图教程
三、螺纹的表示法和标注
螺纹又按真实投影作图,比较麻烦。为了简化作图,国家标准《机械制图》GB/T4459.1—1995规定了螺纹的表示法。按此表示法作图并加以标注, 就能清楚地表示螺纹的类型、规格和尺寸。
(一)螺纹的表示法
1.外螺纹的表示法(图9-8)

(1)外螺纹不论其牙型如何,螺纹牙顶圆的投影用粗实线表示;牙底圆的投影用细实线表示,在螺杆的倒角或倒圆部分也应画出。画图时小径尺寸可近似地取d
≈0.85d。
(2)有效螺纹的终止界线(简称螺纹终止线)在视图中用粗实线表示;在剖视图中则按图9-8b主视图的画法(即终止线只画螺纹牙型高度的一小段),剖面线必须画到表示牙顶圆投影的粗实线为止。
(3)在垂直与螺纹轴线的投影面的作图(即投影为圆的视图)中,表示牙底圆的细实线只画约3/4圈(空出约1/4圈的位置不作规定),此时螺杆上的倒角投影不应画出。

2.内螺纹的表示法(图9-9、图9-10)
(1)内螺纹不论其牙型如何,在剖视图中,螺纹牙顶圆的投影用粗实线表示,牙底圆的投影用细实线表示。螺纹终止线用粗实线表示。剖面线应画到表示牙顶圆投影的粗实线为止。
(2)在投影为圆的视图中,表示牙顶圆的细实线只画约3/4圈,此时螺孔上的倒角投影不应画出。
(3)绘制不穿通的螺孔时,一般应将钻孔深度与螺纹部分的深度分别画出。
(4)当螺纹为不可见时,其所有图线用虚线绘制,如图9-10所示。

3.内、外螺纹的连接表示法(图9-11)
内、外螺纹连接,一般用剖视图表示。此时,它们的旋合部分应按外螺纹的画法绘制,其余部分仍按各自的画法表示。
画图时必须注意,表示外螺纹牙顶圆头的粗实线、牙底圆的细实线,必须分别与表示内螺纹牙底圆投影的细实线、牙顶圆投影的粗实线对齐。这与倒角大小无关,它表明内、外螺纹具有相同的大径和相同的小径。按规定,当实心螺杆通过轴线剖切时按不剖处理,如图9-11a所示。

4.螺纹牙型表示法
螺纹牙型一般在图形中不表示,当需要表示或表示非标准螺纹(如方牙螺纹)时,可按图9-12、图9-13的形式绘制,既可在剖视图中表示几个牙型,也可用局部放大图表示。

5.螺纹表示法的其他规定
(1)部分螺孔的表示法
零件上有时会遇到如图9-13所示的部分螺孔。在垂直于螺纹轴线的投影面的视图(如图9-13左视图)中,表示牙底圆的细实线也应适当地空出一段距离。
(2)螺尾的表示法

加工部分长度的内、外螺纹,由于刀具临近螺纹加工终止时要退离工作,出现吃刀深度渐浅的部分,称为螺尾。画螺纹一般不表示螺尾。当需要表示时,螺纹尾部的牙底圆的投影用与轴线成30°角的细实线表示,如图9-14所示。
从图9-14中可以看出,螺纹终止线并不画在螺尾末端,而是画在有效螺纹终止线处。图样中所标注的螺纹长度l(L),均指不包括螺尾在内的有效螺纹长度。
(3)螺孔相贯线的表示法

螺孔与螺孔、螺孔与光孔相交时,只在牙顶圆投影处画一条相贯线,如图9-15所示。
(4)圆锥螺纹的表示法
圆锥外螺纹和圆锥内螺纹的表示法如图9-16所示,在垂直与轴线的投影面的视图中,左视图上按螺纹的大端绘制;右视图上按螺纹的小端绘制。

(二)螺纹的标注
由于各种螺纹表示法都是相同的,因此国家标准规定标准螺纹用规定的标记标注,并标注在螺纹的公称直径的尺寸线或其引出线上,以区别不同种类的螺纹。各种螺纹的标注方法和示例分述如下:
1.普通螺纹的标注
普通螺纹的完整标记,由螺纹代号、螺纹公差代号和螺纹旋合长度代号三部分组成。具体的标记格式是:
—
(1)螺纹代号
普通螺纹的牙型符号用“M”表示。粗牙普通螺纹代号用牙型符号M和公称直径(大径0表示(不标注螺距),例如M16;细牙普通螺纹用牙型符号M和“公称直径×螺距”表示,例如M16×1.5;右旋螺纹为长用螺纹,不标注旋向;左旋螺纹需在尺寸规格之后加注“LH”,例如M16×1LH。
(2)螺纹公差带代号
螺纹公差带代号包括中径公差代号和顶径公差代号。它由表示其大小的公差等级数字表示其位置的基本偏差的字母(内螺纹用大写字母,外螺纹用小写字母)组成,例如6H、6g。如果中径公差代号和顶径公差代号不同,则分别注出代号,其中径公差代号在前,顶径公差代号在后,如M10-5g6g;如果中径和顶径公差代号用斜线分开,左边表示内螺纹公差带代号,右边表示外螺纹公差带代号,例如M10-6H/6g。
(3)旋合长度代号
国标对普通螺纹的旋合长度,规定为短(S)、中(N)、长(L)三组。螺纹的精度分为精密、中等和粗糙三级。螺纹的旋合长度和精度等级不同,对应的公差代号也不一样。
在一般情况下不标注螺纹的旋合长度,其螺纹公差带按中等旋合长度(N)确定;必要时在螺纹公差代号之后加注旋合长度代号S或L。如M10-5g6g-S;特殊需要时,可注明旋合长度数值,如M20×LH-7g6g-40。
普通螺纹在图上的标注示例,见表9-2。
2.管螺纹的标注
管螺纹分为55°密封管螺纹和非密封管螺纹。螺纹标记的内容和格式是:
螺纹特征代号-尺寸代号-旋向代号
55°非密封管螺纹:
螺纹特征代号-尺寸代号-公差等级代号-旋向代号
以上框格对非螺纹密封的外管螺纹适用。
螺纹特征代号-尺寸代号-旋向代号
以上框格对非螺纹密封的内管螺纹适用。
(1)上述螺纹标记中的螺纹特征代号分两类:①55°密封管螺纹特征代号:R
表示圆柱内螺纹,R
表示与圆柱内螺纹相配合的圆锥外螺纹; R
表示圆锥内螺纹,R
表示与圆锥内螺纹相配合的圆锥外螺纹。②55°非密封管螺纹特征代号:G。
(2)两类螺纹中的尺寸代号,按附录附表1-2和附表1-3的的第一栏标注在螺纹特征代号之后,例如R
1,R
1/2,G1
等。
(3)公差等级代号只对55°非密封的外管螺纹,分为A、B两个等级,在尺寸代号后注明。对内螺纹,不标记公差等级代号。例如G2A,G2B,G2。
(4)螺纹为右旋时,不标注旋向代号;为左旋时应标注“LH”。例如G1/2LH、G3/4B-LH。
(5)表示螺纹副时,对55°非密封管螺纹,仅需标注外螺纹的标记代号;对55°密封管螺纹,其标记需用斜线分开,左边表示内螺纹,右边表示外螺纹,例如R
/ R
2,R
/ R
1/2LH。
管螺纹的标注示例见表9-3。应注意管螺纹的尺寸代号并不是螺纹的大径,因而这类螺纹需用指引线自大径圆柱(或圆锥)母线上引出标注,而不能像标注一般线性尺寸那样引用箭头注写在大径尺寸线上。作图时,可根据尺寸代号查出螺纹的大径。例如尺寸代号为“1”时,螺纹的大径为33.249mm。
除上述两种管螺纹外,国家标准又颁布了GB/T 12716—1991《60°圆锥管螺纹》,其代号为NPT;GB/T 1415—1992《米制锥管螺纹》,其代号为ZM。这两种螺纹的标注示例,可参阅国家标准《技术制图》与国家标准《机械制图》(1996年3月出版)。
3.梯形螺纹的标注
梯形螺纹的完整标记,由螺纹代号、公差带代号及旋合长度代号组成。其具体的标记格式,分为下列两种情况:
单线梯形螺纹:

多线梯形螺纹:

(1)梯形螺纹的牙型符号为“Tr”。左旋螺纹的旋向代号为LH,需标注;右旋不注。例如Tr32×6LH,Tr32×6。
(2)梯形螺纹的公差代号为中径公差带。
(3)梯形螺纹的旋合长度分为(N)和长(L)两组,精度规定中等、粗糙两种。用中
(N)时,不标注代号“N”。例如Tr40x10-7e,Tr30 12(P6)LH-7e-L。
内、外螺纹组成螺纹副时,其标记如Tr40 7-7H/7e。
(4)锯齿形螺纹的标注
锯齿形螺纹标注的具体格式完全与梯形螺纹相同。
符合GB/T13576.1——1992标准的锯齿形(3、30)螺纹,其牙形符号用“B”表示。除此项与梯形螺纹不同外,其余各项的含义与标准方向均同梯形螺纹。标记示例如:
B40 7-7A 表示公称直径为40、螺距为7、中径公差带代号为7A、中等旋合长度的右旋锯齿形内螺纹;
B40 7LH-7c 表示公称直径40、螺距为7、中径公差带代号为7c、中等旋合长度的左旋锯齿形外螺纹;
B40 14(P7)-8c-L 表示公称直径为40、导程为14、螺距为7、中径公差带代号为8c、长旋合长度的右旋双线锯齿形外螺纹。
螺纹副的标记示例如:B40 7-7A/7c。
梯形螺纹和锯齿形螺纹在图上的标注示例,见表9-4。
5.非标准螺纹的标注
对于非标准螺纹,应画出罗纹的牙型,并注出所需要的尺寸及有关要求,如图9-17中非标准的外螺纹。
四、螺纹的测绘

根据实物,对其上的螺纹结构要素进行测量,以确定螺纹的牙型、规格尺寸等基本要素,并绘制该部分图形的过程,称为螺纹测绘。螺纹测绘的一般步骤如下:
(1)确定螺纹的线数和旋向:
(2)确定牙型和螺距。

传动螺纹的牙型,一般可直观确定。连接螺纹的牙型和螺距,可用螺纹规(60、55)测量;选择其中能与被测螺纹相吻合的一片,由此确定该螺纹具有与吻合片相同的牙型;该片上的数值,即为所测螺纹的螺距(图9-18)。
螺距也可用直尺测得:用直尺量出几个螺距的长度L,则螺距P= 。图9-18中所示的螺距P=
(3)确定大径的螺纹长度(或深度)。
外螺纹的大径和螺纹长度可用游标卡尺直接测得。内螺纹的大径一般可通过与字之相配的外螺纹测得,或测出内螺纹小径查表确定其大径尺寸。内螺纹深度可用游标卡尺测深杆或深度卡尺测量。
(4)查对标准,确定螺纹标记,并作图。
根据测得的牙型、螺距和大径,查对相应的螺纹标准,确定螺纹标记,画出图形,并进行标注。
该文章所属专题:机械制图教程
1;所有标注为智造资料网zl.fbzzw.cn的内容均为本站所有,版权均属本站所有,若您需要引用、转载,必须注明来源及原文链接即可,如涉及大面积转载,请来信告知,获取《授权协议》。
2;本网站图片,文字之类版权申明,因为网站可以由注册用户自行上传图片或文字,本网站无法鉴别所上传图片或文字的知识版权,如果侵犯,请及时通知我们,本网站将在第一时间及时删除,相关侵权责任均由相应上传用户自行承担。
[complaint:内容投诉]
智造资料网打造智能制造3D图纸下载,在线视频,软件下载,在线问答综合平台 » 机械制图教程—9-1螺纹(图文教程)

