


1.变速箱工作原理


手动变速箱主要由齿轮和轴组成,通过不同的齿轮组合产生变速变矩;而自动变速箱AT是由液力变扭器、行星齿轮和液压操纵系统组成,通过液力传递和齿轮组合的方式来达到变速变矩。
2.阿克曼转向设计

阿克曼转向几何设计的车辆,沿着弯道转弯时,利用四连杆的相等曲柄使内侧轮的转向角比外侧轮大大约2~4度,使四个轮子路径的圆心大致上交会于后轴的延长线上瞬时转向中心,让车辆可以顺畅的转弯。
3.离合器的动画



离合器位于发动机和变速箱之间的飞轮壳内,用螺钉将离合器总成固定在飞轮的后平面上,离合器的输出轴就是变速箱的输入轴。在汽车行驶过程中,驾驶员可根据需要踩下或松开离合器踏板,使发动机与变速箱暂时分离和逐渐接合,以切断或传递发动机向变速器输入的动力。
4.差速器工作原理

汽车差速器能够使左、右(或前、后)驱动轮实现以不同转速转动的机构。主要由左右半轴齿轮、两个行星齿轮及齿轮架组成。功用是当汽车转弯行驶或在不平路面上行驶时,使左右车轮以不同转速滚动,即保证两侧驱动车轮作纯滚动运动。差速器是为了调整左右轮的转速差而装置的。
5.齿轮齿条式转向机构

转动转向盘时,可带动小齿轮转动,这个小齿轮与一条齿条相吻合,带动齿条左右直线运动,并推动转向轮左右摆动,从而实现转向功能。齿轮不是简单的平齿轮,而是特殊的螺旋形状,这可改善转向时的柔顺感。
6.行星齿轮系统

7.电导体和磁场的相对运动会产生电流,发电机

8.直流电动机

9.汽车发动机的活塞运动,上下的活塞运动转化成车轮转动的动力


10.液压柱塞泵的工作方式

11.自动中心冲机制

12.曲轴运动

曲轴材料是由碳素结构钢或球墨铸铁制成的,有两个重要部位:主轴颈,连杆颈,(还有其他)。主轴颈被安装在缸体上,连杆颈与连杆大头孔连接,连杆小头孔与汽缸活塞连接,是一个典型的曲柄滑块机构。
13.发动机机油冲洗机

14.单相感应电动机

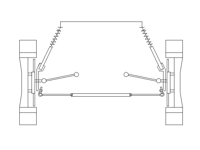
15.汽车悬挂的工作图



悬挂系统就是指由车身与轮胎间的弹簧和避震器组成整个支持系统。悬挂系统应有的功能是支持车身,改善乘坐的感觉,不同的悬挂设置会使驾驶者有不同的驾驶感受。外表看似简单的悬挂系统综合多种作用力,决定着轿车的稳定性、舒适性和安全性,是现代轿车十分关键的部件之一。
16.二冲程发动机


在这种情况下,一个膨胀室说明了反射压力波对燃料费用的影响。这是最大的充气压力基本(容积效率)和燃油效率。它是用来在大多数高性能发动机的设计。
17.马自达的转子发动机


1;所有标注为智造资料网zl.fbzzw.cn的内容均为本站所有,版权均属本站所有,若您需要引用、转载,必须注明来源及原文链接即可,如涉及大面积转载,请来信告知,获取《授权协议》。
2;本网站图片,文字之类版权申明,因为网站可以由注册用户自行上传图片或文字,本网站无法鉴别所上传图片或文字的知识版权,如果侵犯,请及时通知我们,本网站将在第一时间及时删除,相关侵权责任均由相应上传用户自行承担。
[complaint:内容投诉]
智造资料网打造智能制造3D图纸下载,在线视频,软件下载,在线问答综合平台 » 汽车上的机械工作原理动画图

