螺纹紧固件的作用是将两个(或两个以上)零件紧固在一起,构成可拆连接。常见的连接型式有螺栓连接、螺柱连接和螺钉连接三种,可根据零件被紧固处的厚度和具体的使用要求来选择。
在绘制螺纹紧固件连接时,除应按照上述螺纹副的规定画法外,还应遵循有关装配图画法的下列规定:
1.两零件相接触的表面应画成一条线;不接触的表面应画两条线,以表示它们的空隙。
2.相互邻接的两金属零件的剖面线,其倾斜方向应相反或方向相同而间隔不等,而同一零件的剖面线应方向相同、间隔相等。
3.当剖切平面通过螺纹紧固件的轴线剖切时,则它们均按不剖绘制。
螺纹紧固件连接可以采用规定的简化画法。
下面将常见的三种连接形式的具体画法和注意事项分别介绍如下。
螺栓连接
构成要素 螺栓连接通常由螺栓1、垫圈2和螺母3三种零件构成,见下图a。
连接形式 这种连接只需在两个被连接件上钻出通孔,然后从孔中穿入螺栓,再套上垫圈,拧紧螺母即实现了连接,见图b。
应用范围 这种连接加工简单,装拆方便,因而应用很广,主要适用于两零件被连接处厚度不大,受力较大,且需经常装拆的场合。

选定螺栓连接需确定的内容:
1)根据使用要求,选择螺栓的结构型式(即确定国标代号)
2)根据强度要求或结构要求确定螺栓的公称直径(螺纹规格)d
3)根据下式计算螺栓的公称长度l:
l≥δ1+δ2 +h+m+ a
式中δ1、δ2为两被连接件的厚度;h为垫圈厚度;m为螺母厚度;a为螺栓头部超出螺母的长度,一般取a =0.2~0.3d,见图c。
注意 计算l所得结果必须标准化,即取为螺栓的标准公称长度,见附录表。垫圈和螺母的结构型式和规格与螺栓规格相同。
至此,可得出螺栓、垫圈和螺母的规定标记,即可按比例画法或查表画法画出螺栓连接的装配图。
画螺栓连接的注意事项:
l)为了装配方便,被连接件上的通孔直径dh应稍大于螺栓的公称直径d,其值可查表获得,因此该处应画成两条线,且两被连接件接触面的投影线应画到螺栓的大径线处。
2)螺栓连接装配图的主视图一般画成通过这些紧固件轴线剖切的全剖视图,且紧固件作不剖处理;而俯、左视图则画成外形视图,且常可省略不画。
3)在主、左视图中,螺栓上被垫圈、螺母和两块被连接板遮挡部分的不可见螺纹一般省略不画;而其余可见螺纹部分必须按螺纹的规定画法正确画出,不能漏画。
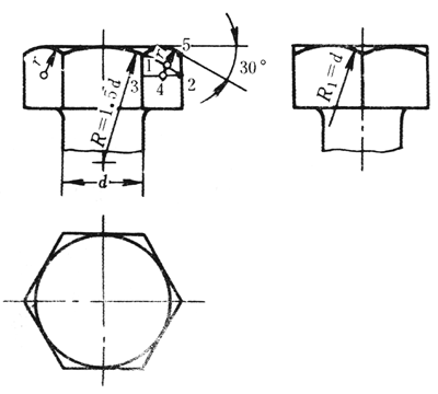
4)螺栓头部和螺母的六角(六棱柱)部分,主、俯、左三个视图之间应符合投影关系,并应正确画出其倒角和截交线。一般可用圆弧来近似代替其双曲线的截交线,具体作图方法和步骤见下图。
螺栓(螺母)六角头头部的比例画法
l)在主视图上中间棱面处作R=1.5d的圆弧与头部顶面线相切,与右边的两条棱线分别交于1、2两点;
2)过2点作水平线与相邻棱线交于点3;
3)以线段 的中点4为圆心,以r= 为半径画圆弧;
4)作与顶面线成30°的斜线,并与圆弧r相切;
5)在左视图上,用R1=d为半径,画出两段与顶面线相切的圆弧,而上部的两角处应画成尖角。

螺柱连接
应用范围 当被连接的机件中,一个太厚,无法加工出通孔时,或不易加工成通孔时,可采用螺柱连接。
构成要素 这种连接由螺柱1、垫圈2和螺母3构成,见图a。
连接形式 被连接的机座上加工出不穿通螺孔(盲孔),另一被连接件上加工出通孔,而螺柱的两头均制有螺纹。连接时,将螺柱的旋入端(一般为螺纹长度较短的一端)全部旋入机座零件的螺孔中,再套上另一被连接件,然后放上垫圈,拧紧螺母,即实现了连接,见图b。
螺柱的规格:螺纹大径d由连接的强度要求或结构要求确定;螺柱的公称长度则由下式计算:
l≥δ+h+m+ a
式中δ、h、m、a分别为带通孔的被连接件的厚度、垫圈厚度、螺母厚度和螺柱头部超出螺母的长度,一般取a=0.2~0.3d,见图c。计算所得结果必须取为相近的标准公称长度,可查表。
螺柱旋入端的螺纹长度,即旋入深度bm由带螺孔机件的材料决定,有四种不同规格,相应有四种国标代号:
GB897一88 bm=1d 用于钢和青铜
GB898一88 bm=1.25 用于铸铁
GB899一88 bm=1.5d 用于铸铁或铝合金
GB900一88 bm=2d 用于铝合金

确定螺柱的规格后,同时也就确定了垫圈和螺母的规格,于是可用比例画法(或查表画法)画出螺柱连接的装配图,见图c
画螺柱连接时应注意的事项:
1)因为螺柱旋入端的螺纹按规定必须全部旋入到被连接机件的螺孔中,所以其螺纹终止线应与两被连接件接触面的投影线平齐。
2)机件上的螺孔深度h1应稍大于螺柱的旋入深度bm,一般可取:h1=bm+(0.3~0.5)d,而钻孔深度H1又应稍大于螺孔深度h1,一般可取H1=h1+(0.3~0.5)d。
3)螺柱的旋入端必须按内、外螺纹的连接画法正确画出;拧螺母端的画法则与螺栓连接时相应部分的画法完全相同。为了防止连接松动,这里采用了弹簧垫圈。
螺钉连接
螺钉按用途不同可分为连接螺钉和紧定螺钉两类。前者用于连接零件,后者用于固定零件。
1. 连接螺钉
连接螺钉主要用于连接不经常拆卸,并且受力不大的场合。它是一种只需螺钉(有时也可加垫圈)而不用螺母的连接,因而结构最简单。连接螺钉由头部和杆身两部分组成:其头部有多种不同的结构型式,相应有不同的国家标准代号,见表;杆身上刻有部分螺纹或全部螺纹(螺钉公称长度较小时),被连接件之一加工有通孔;另一被连接件上加工有螺孔。连接时,将螺钉穿过通孔,并用起子插入螺钉头部的起子槽(呈一字或十字),再加以拧动,依靠杆身上的螺纹即可旋入至螺孔中,并依靠其头部压紧被连接件而实现两者的连接,见图a。
设计螺钉连接时,通常首先根据使用要求确定螺钉的结构型式(即确定了国标代号),再根据结构要求确定螺钉的公称直径d(因受力不大,一般不进行强度计算),并由下式确定螺钉的公称长度:
l≥δ+l1
式中δ为带通孔零件的厚度,l1为螺钉的旋入深度,由带螺孔的被连接件的材料决定,并与确定螺柱旋入端长度bm的方法相同。计算所得结果应取相近的标准值,见附录表11。
根据上面选定的结构型式和具体规格即可按比例画法(或查表画法)画出螺钉连接的装配图,见图b、c。

画连接螺钉装配图时应注意的事项:
1)螺钉头部的一字槽在通过螺钉轴线剖切的剖视图上应按垂直于投影面的位置画出,而在垂直于螺钉轴线的投影面上的投影应按倾斜45°画出,见图。
2)螺钉杆身上的螺纹长度b应大于旋入深度l1,因此螺钉的螺纹终止线应高于两被连接零件接触面的投影线,见图b。或采用全螺纹,见图c。
2.紧定螺钉
紧定螺钉多用于轮毂与轴之间的固定。通常在轴上加工出锥坑,见图a;在轮子的轮毂上加工出螺孔,见图b;连接时,将轮子套装于轴上,再将螺钉拧入轮子的螺孔中,使螺钉的锥形端部紧压在轴上的锥坑内,从而固定了轮子与轴的相对位置,见图c
。紧定螺钉连接

a)轴上加工出锥坑 b)轮毂上加工出螺孔 c)紧定螺钉装配图
其它注意事项均与螺栓连接时相同。
1;所有标注为智造资料网zl.fbzzw.cn的内容均为本站所有,版权均属本站所有,若您需要引用、转载,必须注明来源及原文链接即可,如涉及大面积转载,请来信告知,获取《授权协议》。
2;本网站图片,文字之类版权申明,因为网站可以由注册用户自行上传图片或文字,本网站无法鉴别所上传图片或文字的知识版权,如果侵犯,请及时通知我们,本网站将在第一时间及时删除,相关侵权责任均由相应上传用户自行承担。
[complaint:内容投诉]
智造资料网打造智能制造3D图纸下载,在线视频,软件下载,在线问答综合平台 » 螺纹紧固件的连接形式及其装配画法(图文教程)

