简化画法 (GB/T16675.1—1996)
简 化 后 | 简 化 前 | 说 明 |
零件1(LH)如图 零件2(RH)对称
|
零件1(LH) 零件2(RH) | 对于左右手零件和装配件,允许仅画出其中一件,另一件则用文字说明,其中“LH”为左件,“RH”为右件 |
|
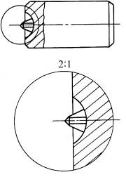
| 在局部放大图表达完整的前提下,允许在原视图中简化被放大部位的图形 |
|
| 在不致引起误解的情况下,剖面符号可省略 |
|
| 在不致引起误解时,图形中的过渡线、相贯线可以简化,例如用圆弧或直线代替非圆曲线 |
|
| 也可采用模糊画法表示相贯线 |
|
| 基本对称的零件仍可按对称零件的方式绘制,但应对其中不对称的部分加注说明 |
|
| 若干直径相同且成规律分布的孔,可以仅画出一个或少量几个,其余只需用细点划线或“W”表示其中心位置 |
|
| |
|
| |
|
| 对于装配图中若干相同的零、部件组,可仅详细地画出一组,其余只需用细点划线表示出其位置 |
|
| 对于装配图中若干相同的单元,可仅详细地画出一组,其余可采用如左图(简化后)所示的方法表示 |
|
| 当机件具有若干相同结构(如齿、槽等),并按一定规律分布时,只需画出几个完整的结构,其余用细实线联接,在零件图中则必须注明该结构的总数 |
| 仅以焊接固定而无其他紧固工序的电子元器件,可用GB/T4728.2~4728.8中规定的图形符号绘制 | |
|
| 软管接头可参照左图(简化后)所示的方法绘制 |
|
| 管子可仅在端部画出部分形状,其余用细点画线画出其中心线 |
| 管子可用与管子中心线重合的单根粗实线表示 | |
|
| 在能够清楚表达产品特征和装配关系的条件下,装配图可仅画出其简化后的轮廓 |
| 已在一个视图中表示清楚的产品组成部分,在其他视图中可仅画出其外形轮廓 | |
|
| 钢筋与钢箍图可用单根粗实线表示 |
|
| |
|
| 在装配图中,可用粗实线表示带传动中的带;用细点画线表示链传动中的链。必要时,可在粗实线或细点画线上绘制出表示带 |
|
| 类型或链类型的符号 |
1;所有标注为智造资料网zl.fbzzw.cn的内容均为本站所有,版权均属本站所有,若您需要引用、转载,必须注明来源及原文链接即可,如涉及大面积转载,请来信告知,获取《授权协议》。
2;本网站图片,文字之类版权申明,因为网站可以由注册用户自行上传图片或文字,本网站无法鉴别所上传图片或文字的知识版权,如果侵犯,请及时通知我们,本网站将在第一时间及时删除,相关侵权责任均由相应上传用户自行承担。
[complaint:内容投诉]
智造资料网打造智能制造3D图纸下载,在线视频,软件下载,在线问答综合平台 » 简化画法 (GB/T16675.1—1996)(图文教程)








































