局部放大图画法(摘自GB/T17452—1998)
说 明 | 图 例 | |
局
部
放
大
图
画
法
与
标
注 | 局部放大图可画成视图、剖视、断面,它与被放大部分的表达方式无关(图a)。局部放大图应尽量配置在被放大部位的附近。 绘制局部放大图时,除螺纹牙型、齿轮和链轮的齿形外,应用细实线圈出被放大的部位。 当同一机件上有几个被放大的部分时,必须用罗马数字依次标明被放大的部位,并在局部放大图的上方标注相应的罗马数字和采用的比例(图a)。 当机件上被放大部分仅一个时,在局部放大图上只需注明所采用的比例(图b) |
|
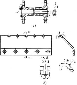
同一机件上,由不同的部位得到相同的局部放大图时,只需绘制一个局部放大图(图c)。 必要时可以采用几个视图表达同一个被放大部分的结构(图d) |
| |
免责声明:
1;所有标注为智造资料网zl.fbzzw.cn的内容均为本站所有,版权均属本站所有,若您需要引用、转载,必须注明来源及原文链接即可,如涉及大面积转载,请来信告知,获取《授权协议》。
2;本网站图片,文字之类版权申明,因为网站可以由注册用户自行上传图片或文字,本网站无法鉴别所上传图片或文字的知识版权,如果侵犯,请及时通知我们,本网站将在第一时间及时删除,相关侵权责任均由相应上传用户自行承担。
[complaint:内容投诉]
智造资料网打造智能制造3D图纸下载,在线视频,软件下载,在线问答综合平台 » 局部放大图画法(GB/T17452—1998)(图文教程)
1;所有标注为智造资料网zl.fbzzw.cn的内容均为本站所有,版权均属本站所有,若您需要引用、转载,必须注明来源及原文链接即可,如涉及大面积转载,请来信告知,获取《授权协议》。
2;本网站图片,文字之类版权申明,因为网站可以由注册用户自行上传图片或文字,本网站无法鉴别所上传图片或文字的知识版权,如果侵犯,请及时通知我们,本网站将在第一时间及时删除,相关侵权责任均由相应上传用户自行承担。
[complaint:内容投诉]
智造资料网打造智能制造3D图纸下载,在线视频,软件下载,在线问答综合平台 » 局部放大图画法(GB/T17452—1998)(图文教程)



