定位与固定方法 | 简图 | 特点与应用 |
键 |
| 平键对中性好,可用于较高精度、高转速及冲击或变载荷作用的场合。楔键不适于要求严格对中、有冲击载荷及高速回转的场合,但能承受单向轴向力 |
花键 |
| 承载能力高,对中性和导向性好,但制造困难,成本高 |
过盈配合 |
| 结构简单,对中性好,承载能力高,同时起轴向固定作用,不适于经常拆卸的场合。常与平键联合使用,以承受大的循环、振动和冲击载荷 |
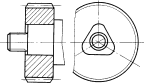
非圆成形面 |
| 成形联接,可承受大载荷,对中性好,但制造困难;方形联接,多用于轴端和手动机构中,对中性差 |
胀套 |
| 对中性好,压紧力可以调整,多次拆卸仍能保持良好的配合性质,但结构复杂 |
轴上零件的轴向定位与固定
定位与固定方法 | 简 图 | 特点与应用 |
轴肩、轴环 |
| 结构简单、可靠,能承受较大的轴向力。一般取a=0.07d+(1~2)mm,b≥1.4a,r<c,r<R,a>c。安装滚动轴承的轴肩其a值由滚动轴承安装要求确定 |
圆螺母 |
| 固定可靠,能承受较大的轴向力。需要防松措施,如图中的双螺母、止动垫圈。圆螺母、止动垫圈的结构尺寸见GB/T810、GB/T812及GB/T858。结构较复杂。螺纹位于承载轴段时,会削弱轴的疲劳强度 |
圆锥面 |
| 轴和轮毂间无径向间隙,装拆较方便,能承受冲击载荷,多用于轴端零件的定位与固定。锥面加工较麻烦。同轴度高但轴向定位不准确。高速轻载及同轴度要求高时可以不用键,圆锥形轴伸的结构尺寸见GB/T1570 |
弹性挡圈 |
| 结构简单、紧凑,只能承受较小的轴向力,可靠性差。挡圈位于承载轴段时,轴的强度削弱较严重。轴用弹性挡圈及轴槽的结构尺寸见GB/T894.1、GB/T894.2 |
轴端挡圈 |
| 适于轴端需件的定位和固定。可承受剧烈的振动和冲击载荷,需采取防松措施,如图中的防松结构。轴端挡圈的结构尺寸见GB/T891及GB/T892 |
锁紧挡圈 |
| 结构简单,不能承受大的轴向力。有冲击、振动的场合,应采取防松措施。锁紧挡圈的结构尺寸见GB/T883、GB/T884、GB/T885 |
套 筒 |
| 结构简单、可靠。适于轴上两零件间的定位和固定,轴上不需开槽、钻孔。可将零件的轴向力不经轴而直接传到轴承上 |
轴端挡板 |
| 适于心轴的轴端定位和固定,只能承受小的轴向力 |
轴上零件轴向与周向同时定位与固定
紧定螺钉 |
| 适于轴向力很小、转速很低或仅为防止偶然轴向滑动的场合。同时可起周向和轴向定位和固定的作用。锥端紧定螺钉的结构尺寸见GB/T71 |
销 |
| 结构简单,用于受力不大,同时可起周向和轴向定位和固定作用 |
1;所有标注为智造资料网zl.fbzzw.cn的内容均为本站所有,版权均属本站所有,若您需要引用、转载,必须注明来源及原文链接即可,如涉及大面积转载,请来信告知,获取《授权协议》。
2;本网站图片,文字之类版权申明,因为网站可以由注册用户自行上传图片或文字,本网站无法鉴别所上传图片或文字的知识版权,如果侵犯,请及时通知我们,本网站将在第一时间及时删除,相关侵权责任均由相应上传用户自行承担。
[complaint:内容投诉]
智造资料网打造智能制造3D图纸下载,在线视频,软件下载,在线问答综合平台 » 轴上零件轴向与周向定位与固定(图文教程)















