注射模是安装在注射机上使用的。在进行注射模设计时,除了应掌握注射成型工艺过程外,还应对所选用注射机的有关技术参数有全面的了解,以保证设计的模具与使用的注射机相适应。
一 注射机的分类及型号
1. 注射机的分类
注射机是生产热塑性塑件的主要设备,近年来在成型热固性塑件中也得到了应用。尽管各种注射机的外形不同,但基本上都是由合模锁模系统与注射系统组成的。在工作时,注射模安装在注射机的移动模板和固定模板上,由合模系统合模并将模具锁紧,注射系统将塑料原料送到料筒中加热到塑化温度,将熔融的塑料注入到模具的型腔。注射机设有电加热和水冷却系统以调节模具的温度。塑料在模具中成型后冷却到一定温度时开模,并由推出机构将塑件推出。较先进的注射机用计算机控制,可实现自动化操作。
注射机的分类方法较多,按其外形特征可分为卧式注射机、立式注射机和角式注射机三种,其中应用较多的是卧式注射机,如图4-12所示。

图4-12 卧式注射机
1-锁模液压缸;2-锁模机构;3-移动模板;4-顶杆;5-固定模板;
6-控制台;7-料筒及加热器;8-料斗;9-定量供料装置;10-注射液压缸
(1)卧式注射机
卧式注射机是使用最广泛的注射机,它的注射系统与合模锁模系统的轴线都呈水平布置,其注射系统有柱塞式和螺杆式两种结构,注射量60cm3及以上的均为螺杆式。卧式注射机的优点是机器重心低,比较稳定,操作、维修方便,成型后的塑件推出后可利用其自重自动落下,便于实现自动化生产,对大、中、小型模具都适用;其主要缺点是模具安装比较困难。
(2)立式注射机
立式注射机的注射系统与合模锁模系统的轴线一致并垂直于地面,注射系统多为柱塞式结构,注射量一般小于60cm3。立式注射机的优点是占地面积较小,模具装卸方便,动模一侧安放嵌件便利;其缺点是机器重心高、不稳定,加料比较困难,推出的塑件需要用人工或其它方法取出,不易实现自动化生产。
(3)角式注射机
角式注射机的注射系统与合模系统的轴线相互垂直,常见的角式注射机是沿水平方向合模,沿垂直方向注射,其注射系统一般为柱塞式结构,采用齿轮齿条传动或液压传动,注射量较小,一般小于45cm3。角式注射机的优点介于卧、立式注射机之间,结构比较简单,可利用开模时的丝杠转动对有螺纹的塑件实现自动脱卸;其缺点是机械传动无法准确可靠地注射和保持压力及锁模力,模具受冲击和振动较大。
2. 注射机型号规格的表示方法
注射机的型号规格主要有注射量、合模力、注射量与合模力同时表示等三种表示方法。国家标准采用注射量表示法:XS-ZY-最大注射量-改进型号,其中XS表示塑料成型机械,Z表示注射机,Y表示螺杆式(无Y表示柱塞式)。
常用的卧式注射机型号有:XS-ZY-30、XS-ZY-60、XS-ZY-125、XS-ZY-500、XS-ZY-1000等。
二 注射机有关工艺参数的校核
在进行注射模具设计时,设计者必须根据塑件的结构特点、技术要求等来确定模具的结构。模具结构与注射机有着必然的联系,模具的定位圈尺寸、模板的外形尺寸、注射量的大小、推出机构的设置及锁模力的大小等都必须参照注射机的相关技术参数来进行设计,否则,模具就无法与注射机合理匹配,注射过程也就无法进行。
1. 型腔数量的确定和校核
型腔数量的确定是进行模具设计的第一步,对于多型腔注射模,其型腔数量与注射机的塑化速率、最大注射量及锁模力等参数有关,并且还直接影响着塑件的精度和生产的经济性。下面介绍几种根据注射机性能参数确定型腔数量的方法,这些方法也可用来校核初选的型腔数量能否与注射机的规格相匹配。
(1)按注射机的额定塑化量进行校核
(4-1)
式中 n——型腔的数量
m——单个塑件的质量或体积,g或cm3;
K——注射机最大注射量的利用系数,一般取0.8;
M——注射机的额定塑化量,g/h或cm3/h;
t——成型周期,s;
m1——浇注系统所需塑料的质量或体积,g或cm3。
(2)按注射机的额定锁模力进行校核
n p A≤Fp-p A1 (4-2)
式中 n——型腔的数量;
p——塑料熔体对型腔的成型压力,MPa,其大小一般是注射压力的80%,注射压力的大小见表4-2;
A——单个塑件在模具分型面上的投影面积,mm2;
Fp——注射机的额定锁模力,N;
A1——浇注系统在模具分型面上的投影面积,mm2。
按上述方法确定或校核型腔数量时,还必须考虑成型塑件的尺寸精度、生产的经济性及注射机安装模板的大小。型腔数量越多,塑件的精度越低(一般来说,每增加一个型腔,塑件的尺寸精度要降低4%~8%),模具的制造成本越高,但生产效率会显著增加。
2. 最大注射量的校核
最大注射量是指注射机一次注射塑料的最大容量。因聚苯乙烯塑料的密度是1.05g/cm3,近似于1g/cm3,因此规定柱塞式注射机的最大注射量是以一次注射聚苯乙烯塑料的最大克数为标准的;而螺杆式注射机则是用体积来表示最大注射量,与塑料的品种无关。
设计模具时,应保证成型塑件所需的总注射量小于所选注射机的最大注射量,即:
n m+m1≤K mp (4-3)
式中 n——型腔的数量;
m——单个塑件的质量或体积,g或cm3;
m1——浇注系统所需塑料的质量或体积,g或cm3;
K——注射机最大注射量的利用系数,一般取0.8;
mp——注射机的最大注射量,g或cm3。
3. 锁模力的校核
当高压的塑料熔体充满模具型腔时,会产生使模具分型面涨开的力,这个力的大小等于塑件和浇注系统在分型面上的投影面积之和乘以型腔的压力,它应小于注射机的额定锁模力Fp,才能保证在注射时不发生溢料现象,即:
Fz=p(n A +A1)< Fp (4-4)
式中 Fz——熔融塑料在分型面上的涨开力,N;
p——塑料熔体对型腔的成型压力,MPa,其大小一般是注射压力的80%,注射压力的大小见表4-2;
n——型腔的数量;
A——单个塑件在模具分型面上的投影面积,mm2;
A1——浇注系统在模具分型面上的投影面积,mm2;
Fp——注射机的额定锁模力,N。
型腔内的压力约为注射机注射压力的80%左右,通常取20~40MPa。常用塑料注射成型时所选用的型腔压力值见表4-3。
表4-3 常用塑料注射成型时所选用的型腔压力 MPa
塑料品种 | 高压聚乙烯(PE) | 低压聚乙烯(PE) | 聚苯乙烯(PS) | AS | ABS | 聚甲醛(POM) | 聚碳酸酯(PC) |
型腔压力 | 10~15 | 20 | 15~20 | 30 | 30 | 35 | 40 |
4. 注射压力的校核
注射压力的校核是核定注射机的额定注射压力是否大于成型时所需的注射压力。塑料成型时所需要的注射压力是由塑料品种、注射机类型、喷嘴形式、塑件形状和浇注系统的压力损失等因素决定的。对于粘度较大的塑料以及形状细薄、流程长的塑件,注射压力应取大些。由于柱塞式注射机的压力损失比螺杆式注射机大,所以注射压力也应取大些。常用塑料注射成型时所需的注射压力见表4-1。
5. 模具与注射机安装部分相关尺寸的校核
为了使注射模能顺利地安装在注射机上并注射生产出合格的塑件,在设计模具时必须校核注射机与模具安装有关的尺寸。与模具安装有关的尺寸包括喷嘴尺寸、定位圈尺寸、模具的最大和最小厚度及模板上的安装螺孔尺寸等。
(1)喷嘴尺寸
在设计模具时,主流道始端的球面半径必须比注射机喷嘴头部球面半径略大一些,如图4-13所示,即R比r大1~2mm。主流道的小端直径要比喷嘴直径略大,即D比d大0.5~1mm,以防止主流道口部积存凝料而影响脱模。

图4-13 浇口套球面与注射机喷嘴的配合
1-注射机喷嘴;2-浇口套
该文章所属专题:塑料模具设计教程
(2)定位圈尺寸
为了使注射模在注射机上的安装准确、可靠,定位圈的设计非常关键。模具定位圈的外径尺寸必须与注射机的定位孔尺寸相匹配。通常采用间隙配合,以保证模具主流道的中心线与注射机喷嘴的中心线相重合,一般模具定模板上凸出的定位圈的外径尺寸应比注射机固定模板上定位孔的尺寸小0.2mm以下。
(3)模具的最大、最小厚度
在设计模具时,应使模具的总厚度位于注射机可安装模具的最大厚度与最小厚度之间,同时应校核模具的外形尺寸,使得模具能从注射机的拉杆之间装入。
(4)安装螺孔尺寸
模具在注射机上的安装方法有两种:一种是用螺钉直接固定;另一种是用螺钉、压板固定。当用螺钉直接固定时,模具固定板与注射机模板上的螺孔应完全吻合;而用压板固定时,只要在模具固定板需安放压板的外侧附近有螺孔就能紧固,因此具有较大的灵活性。而对于重量较大的大型模具,采用螺钉直接固定则比较安全。
6. 开模行程的校核
注射机的开模行程是有限制的,塑件从模具中取出时所需的开模距离必须小于注射机的最大开模距离,否则塑件就无法从模具中取出。由于注射机的锁模机构不同,开模行程可按下面三种情况校核:
(1)注射机的最大开模行程与模具厚度无关时的校核
当注射机采用液压和机械联合作用的锁模机构时,最大开模程度由连杆机构的最大行程所决定,并不受模具厚度的影响。
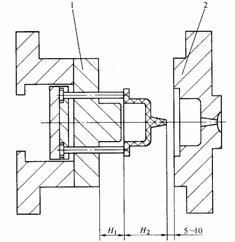
对于如图4-14所示的单分型面注射模,其开模行程可按下式校核:
s ≥ H1 + H2 +(5~10)mm (4-5)
式中 s——注射机的最大开模行程,mm;
H1——推出距离(脱模距离),mm;
H2——包括浇注系统在内的塑件高度,mm。

图4-14 单分型面注射模的开模行程
1-动模;2-定模座板
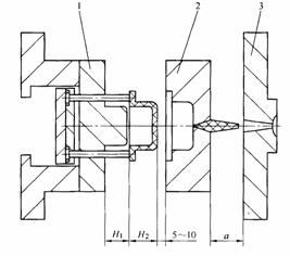
对于如图4-15所示的双分型面注射模,为了保证开模后既能取出塑件又能取出浇注系统凝料,需要在开模距离中增加定模板与中间板之间的分开距离a,a的大小应保证可以方便地取出浇注系统凝料,此时开模行程可按下式校核:
s ≥ H1 + H2 + a +(5~10)mm (4-6)

图4-15 双分型面注射模的开模行程
1-动模;2-中间板;3-定模座板
(2)注射机的最大开模行程与模具厚度有关时的校核
对于全液压式锁模机构的注射机和带有丝杠开模锁模机构的直角式注射机,其最大开模行程受模具厚度的影响。此时最大开模行程等于注射机动模板与定模板之间的最大距离s减去模具厚度Hm。
对于单分型面注射模具,校核公式为:
s ≥ Hm + H1 + H2 +(5~10)mm (4-7)
对于双分型面注射模具,校核公式为:
s ≥ Hm + H1 + H2 + a +(5~10)mm (4-8)
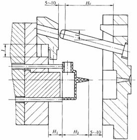
(3)具有侧向抽芯机构时校核
当模具需要利用开模动作完成侧向抽芯时,开模行程的校核应考虑侧向抽芯时所需的开模行程。如图4-16所示,设完成侧向抽芯所需的开模行程为HC,当HC≤H1 + H2时,HC对开模行程没有影响,仍用上述各公式进行校核;当HC>H1 + H2时,可用HC代替前述校核公式中的H1 + H2进行校核。

图4-16 有侧向抽芯时的开模行程
7. 推出装置的校核
各种型号注射机的推出装置和最大推出距离不尽相同,设计时应使模具的推出机构与注射机相适应。通常是根据开合模系统推出装置的推出形式(中心推出还是两侧推出)、注射机的顶杆直径、顶杆间距和推出距离等,来校核模具的推出机构是否合理、推杆推出距离是否能达到使塑件脱模的要求。
该文章所属专题:塑料模具设计教程
1;所有标注为智造资料网zl.fbzzw.cn的内容均为本站所有,版权均属本站所有,若您需要引用、转载,必须注明来源及原文链接即可,如涉及大面积转载,请来信告知,获取《授权协议》。
2;本网站图片,文字之类版权申明,因为网站可以由注册用户自行上传图片或文字,本网站无法鉴别所上传图片或文字的知识版权,如果侵犯,请及时通知我们,本网站将在第一时间及时删除,相关侵权责任均由相应上传用户自行承担。
[complaint:内容投诉]
智造资料网打造智能制造3D图纸下载,在线视频,软件下载,在线问答综合平台 » 塑料模具设计教程_4-3注射模具与注射机的关系(图文教程)

