一、国产压力机的主要技术规范
压力机是压缩成型的主要设备,设计者必须熟悉压力机的主要技术规范。压力机的种类较多,按传动方式可分为机械式压力机和液压机。
1. 机械式压力机
机械式压力机常见的形式有螺旋式压力机,双曲柄杠杆式压力机等。由于机械式压力机的压力不准确,运动噪声大,容易磨损,特别是人力驱动的手板压力机,劳动强度很大,故机械式压力机工厂很少采用。
2. 液压机
液压机最为常用,其分类也很多,按机架结构分为框式结构和柱式结构;按施压方向分为上压式和下压式,压制大型层压板可采用下压式压力机,压制塑件一般采用上压式压力机;按工作流体种类可分为油驱动的油压机和油水乳液驱动的水压机,水压机一般采用中心蓄能站,用它能同时驱动多台压力机,生产规模很大时较为有利,但近年来已较少使用,目前大量使用的是带有单独油泵的油压机,此种压力机的油压可以调节,其最高工作油压多采用30MPa,此外还有16、32、50MPa等。液压机多数具有半自动或全自动操作系统,对压缩成型时间等可以进行自动控制。
各种压力机的技术参数详见有关手册。

图6-7 SY71-45型塑料制品液压机

图6-8 YB32-100型四柱万能液压机
二、压机有关工艺参数的校核
压缩模是在压力机上进行压缩生产的,压力机的成型总压力、开模力、推出力、合模高度和开模行程等技术参数与压缩模设计有直接关系,在设计压缩模时应首先对压力机作下述几方面的校核:
1. 成型总压力的校核
成型总压力是指塑料压缩成型时所需的压力,它与塑件的儿何形状、水平投影面积、成型工艺等因素有关,成型总压力必须满足下式:
Fm=nAp≤kFp (6-1)
式中 Fm——成型塑件所需的总压力,N;
n——型腔数目;
A——单个型腔在工作台上的水平投影面积,mm2,对于溢式或不溢式模具水平投影面积等于塑件最大轮廓的水平投影面积;对于半溢式模具等于加料室的水平投影面积;
p——压缩塑件需要的单位成型压力,MPa;
K——修正系数,按压力机的新旧程度取0.80~O.90;
Fp——压力机的额定压力,N。
当压力机的大小确定后,也可以按下式确定多型腔模具的型腔数目:
n≤KFp/Ap(取整数) (6-2)
2. 开模力和脱模力的校核 开模力和脱模力的校核是针对固定式压缩模而言的。
(1)开模力的校核 压力机的压力是保证压缩模开模的动力,压缩模所需要的开模力可按下式计算:
Fk = kFm (6-3)
式中 Fk——开模力,N;
k——系数,配合长度不大时可取0.1,配合长度较大时可取0.15,塑件形状复杂且凸、凹模配合较大时可取0.2;
Fm——成型塑件所需的总压力,N。
若要保证压缩模可靠开模,必须使开模力小于压力机液压缸的回程力。
(2)脱模力的校核
压力机的顶出力是保证压缩模推出机构脱出塑件的动力,压缩模所需要的脱模力可按下式计算:
Ft = AcPf (6-4)
式中 Ft——塑件从模具中脱出所需要的力,N;
Ac——塑件侧面积之和,mm2;
Pf——塑件与金属表面的单位摩擦力,塑件以木纤维和矿物质作填料取0.49MPa,塑料以玻璃纤维增强时取1.47MPa。
若要保证可靠脱模,则必须使脱模力小于压力机的顶出力。
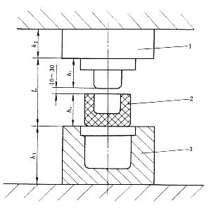
3. 合模高度与开模行程的校核
为了使模具正常工作,必须使模具的闭合高度和开模行程与压力机上下工作台之问的最大和最小开距以及活动压板的工作行程相适应,即:
hmin≤h≤hmax (6-5)
h = h1 + h2
式中 hmin、hmax——压力机上下模板之间的最小和最大距离;
h——模具合模高度;
h1——凹模的高度(见图6-9);
h2——凸模台肩的高度(见图6-9)。
如果h < hmin,则上下模不能闭合,模具无法工作,这时在模具与工作台之间必须加垫板,要求hmin小于h和垫板厚度之和。为保证锁紧模具,其尺寸一般应小于10~15mm。为保证顺利脱模,除满足hmax > h外,还要求:
hmax≥h+L (6-6)
式中 hmax——压力机上下模板之间的最大距离;
h——模具合模高度;
L——模具最小开模距离。
而 L = hs + ht + (10~30) mm
hmax≥ h + hs + ht + (10~30) mm (6-7)
式中 hmax——压力机上下模板之间的最大距离;
h——模具合模高度;
hs——塑件的高度,mm;
ht——凸模高度,mm。

图6-9 模具高度和开模行程
1-凸模 2-塑件 3-凹模
4. 压力机工作台有关尺寸的校核
压缩模设计时应根据压力机工作台面规格和结构来确定模具的相应尺寸。模具的宽度尺寸应小于压力机立柱(四柱式压力机)或框架(框架式压力机)之间的净距离,使压缩模能顺利装在压力机的工作台上,模具的最小外形尺寸不应超过压力机工作台面尺寸,同时还要注意上下工作台面上的T形槽的位置,其T形槽有沿对角线交叉开设的,也有平行开设的。模具可以直接用螺钉分别固定在上下工作台上,但模具上的固定螺钉孔(或长槽,缺口)应与工作台的上下T形槽位置相符合,模具也可用螺钉压板压紧固定,这时上下模底板应设有宽度为15~30mm的凸台阶。
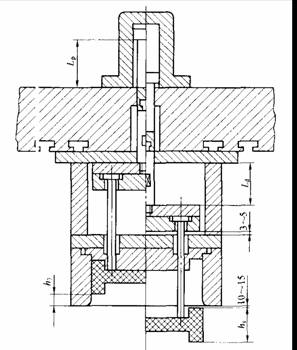
5. 压力机顶出机构的校核
固定式压缩模一般均利用压力机工作台面下的顶出机构(机械式或液压式)驱动模具脱模机构进行工作,因此压力机的顶出机构与模具的脱模机构两者的尺寸应相适应,即模具所需的脱模行程必须小于压力机顶出机构的最大工作行程,其中,模具需用的脱模行程Ld一般应保证塑件脱模时高出凹模型腔10~15mm,以便将塑件取出,图6-10所示即为塑件高度与压力机顶出行程的尺寸关系图。
顶出距离Ld必须满足:
Ld = hS + h3 + (10~15) mm≤ LP (6-8)
式中 Ld——压缩模需要的脱模行程,mm;
hs——塑件的最大高度,mm;
h3——加料腔的高度,mm;
Lp——压力机推顶机构的最大工作行程,mm。

图6-10 塑件与压力机推顶行程
该文章所属专题:塑料模具设计教程
1;所有标注为智造资料网zl.fbzzw.cn的内容均为本站所有,版权均属本站所有,若您需要引用、转载,必须注明来源及原文链接即可,如涉及大面积转载,请来信告知,获取《授权协议》。
2;本网站图片,文字之类版权申明,因为网站可以由注册用户自行上传图片或文字,本网站无法鉴别所上传图片或文字的知识版权,如果侵犯,请及时通知我们,本网站将在第一时间及时删除,相关侵权责任均由相应上传用户自行承担。
[complaint:内容投诉]
智造资料网打造智能制造3D图纸下载,在线视频,软件下载,在线问答综合平台 » 塑料模具设计教程_6-2压缩模与压机关系(图文教程)

