前 言
自动化的快速普及使得工业机器人的使用越来越广泛,而影响机器人整体定位精度、动态性能的因素有很多,零部件的加工夹具是其中一个重要因素。目前,很多此类夹具在批量加工过程中,关键尺寸容易超出公差,或者同批次零件容易超出所要求的允差。

例如,在加工机器人传动轴的键槽时,用普通夹具例如虎钳加持零件,容易造成轴向、径向定位不准,零件表面容易夹持破损,装夹基准不容易定位,使得对刀、编程不方便。不仅增加装夹辅助时间,浪费工时,而且每次装夹基准面不准确,会导致键槽的对称度不合格。
针对此技术问题,有一项工业机器人传动轴键槽加工夹具的设计专利,能够实现传动轴的快速装夹,降低辅助加工时间,且定位精度高。
技术方案
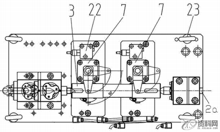
在夹具底板右上端设置固定尾座,夹具底板上端中部对称安装有两个油缸底板,两个油缸底板的上端前部均安装有顶紧缸,后部为压紧缸,右侧设有V型支架。夹具底板的上端左部安装有顶紧尾座,四个拐角处均安装有吊环。
图1 夹具立体结构图
1.固定尾座 2.夹具底板 3.传动轴 4.油缸底板 5.顶紧缸 6.顶紧尾座 7.压紧缸
在进行键槽加工之前,需要现在工业机器人传动轴的端面加工出端面中心孔,因此利用固定尾座、顶紧尾座的配合,分别顶在传动轴的端面中心孔处,实现轴向定位;利用V型支架和顶紧缸实现对传动轴的下方外圆面的支撑,再利用压紧缸压紧实现径向定位。
图2 夹具工作主视图
1.固定尾座 3.传动轴 11.顶紧尾座顶尖 12.手柄 19.固定尾座顶尖 26.V型支架
夹具底板的左、右上端设有与夹具底板长度方向平行的左、右滑槽,顶紧尾座与左滑槽相配合。从而可实现固定尾座、顶紧尾座分别沿着滑槽的方向调节固定尾座、顶紧尾座之间的距离,以适应不同尺寸的传动轴进行键槽的加工。
图3 夹具内部结构
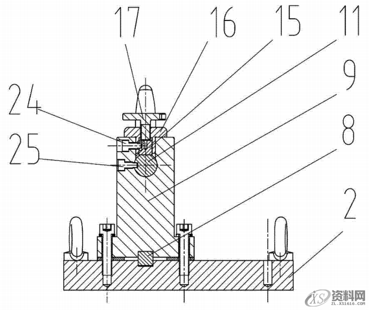
5.顶紧缸 8.短定位块 9.顶紧尾座支块 10.支块 11.顶紧尾座顶尖 12.手柄 13.法兰 14.压缩弹簧 15.楔形块 16.中间法兰 17.拧紧螺母 18.油塞 19.固定尾座顶尖 20.固定尾座支块 21.长定位块 26.V型支架
固定尾座包括固定尾座顶尖、固定尾座支块和长定位块,长定位块卡装在右滑槽内,利用固定尾座顶尖顶在工业机器人传动轴的端面中心孔处,再与顶紧尾座相配合,即可实现对工业机器人传动轴的轴向定位,利用长定位块与右滑槽的配合,可根据实际长度调整距离。
图4 顶紧尾座、夹具底板链接结构
2.夹具底板 8.短定位块 9.顶紧尾座支块 11.顶紧尾座顶尖 15.楔形块 16.中间法兰 17.拧紧螺母 24.楔块定位销 25.顶尖定位销
顶紧尾座包括短定位块、顶紧尾座支块、支块、顶紧尾座顶尖、手柄、法兰、压缩弹簧、楔形块、中间法兰、拧紧螺柱、油塞、楔形块定位销和顶尖定位销。短定位块卡装在左滑槽内,顶紧尾座支块通过螺钉固定在夹具底板上,短定位块与顶紧尾座支块通过螺钉固连,支块固定在顶紧尾座支块的左侧中部,顶紧尾座顶尖水平贯穿顶紧尾座支块的上部,手柄的下端与支块相铰接,手柄的中部与顶紧尾座顶尖的左端滑动配合,压缩弹簧空套在顶紧尾座顶尖的外圆面上,压缩弹簧的一端抵在顶紧尾座顾尖上,压缩弹簧的另一端抵在法兰上,法兰通过螺钉固定在顶紧尾座支块的左上端,楔形块定位销和顶尖定位销均通过螺纹配合的方式与顶紧尾座支块的上部相连,尾座顶尖与顶尖定位销相配合以实现顶紧尾座顶尖沿着顶紧尾座顶尖的轴线方向的滑动,所述楔形块与楔形块定位销相配合以实现楔形块沿着竖向的滑动。中间法兰通过螺钉固定在顶紧尾座支块的上端中部,拧紧螺柱的中部与中间法兰螺纹配合,拧紧螺柱的下端抵在楔形块的上端面上,油塞安装在顶紧尾座支块的上端右部,油塞的下端抵在顶紧尾座顶尖的上表面上。利用短定位块与左滑槽的配合,从而可根据实际的工业机器人传动轴的长度调整固定尾座顶尖与顶紧尾座顶尖之间的距离,以与工业机器人传动轴的长度相吻合,同时,短定位块与左滑槽的配合可保证顶紧尾座顶尖在运动过程中的位置精度,起到了运动导向的作用。操作人员手动摆动手柄,以同步的带动顶紧尾座顶尖在顶尖定位销的导向和顶紧尾座支块的束缚下左移,同时压缩弹簧被压缩,即可将工业机器人传动轴装在固定尾座顶尖与顶紧尾座顶尖上,随后操作人员手松开,压缩弹簧的弹性恢复力使顶紧尾座顶尖右移以顶在工业机器人传动轴的端面中心孔上,接着操作人员旋动拧紧螺柱,向下挤推楔形块,使楔形块在楔形块定位销的导向作用下下移,抵紧在顶紧尾座顶尖上,实现对顶紧尾座顶尖的锁死。
图5 夹具工作俯视图
3.传动轴 7.压紧缸 22.顺序阀 23.吊环
图6为此夹具的油路原理图,液压站通过管路将液压油接入到压力表和电磁阀上,由电磁阀通过管路接入到减压阀上,减压阀与顶紧缸相连通,顶紧缸通过管路经过顺序阀后接入到压紧缸的一端接口处,电磁阀通过管路接入到压紧缸的另一端接口处。
图6 夹具油路原理图
5.顶紧缸 7.压紧缸 22.顺序阀 27.液压站 28.压力表 29.电磁阀 30.减压阀
东莞潇洒职业培训学校开设课程有:学历提升、数控编程培训、塑胶模具设计培训,压铸模具设计培训、冲压模具设计培训,精雕、ZBrush圆雕培训、Solidworks产品设计培训、pro/E产品设计培训、AutoformR7工艺分析培训,潇洒职业培训学校线下、线上网络学习方式,随到随学,上班学习两不误,欢迎免费试学!
联系电话:13018639977(微信同号)QQ:2033825601
学习地址:东莞市横沥镇新城工业区兴业路121号-潇洒职业培训学校1;所有标注为智造资料网zl.fbzzw.cn的内容均为本站所有,版权均属本站所有,若您需要引用、转载,必须注明来源及原文链接即可,如涉及大面积转载,请来信告知,获取《授权协议》。
2;本网站图片,文字之类版权申明,因为网站可以由注册用户自行上传图片或文字,本网站无法鉴别所上传图片或文字的知识版权,如果侵犯,请及时通知我们,本网站将在第一时间及时删除,相关侵权责任均由相应上传用户自行承担。
[complaint:内容投诉]
智造资料网打造智能制造3D图纸下载,在线视频,软件下载,在线问答综合平台 » 夹具设计:解决虎钳装夹转动轴定位不准的方法前 言技术方案

