机床夹具零件及部件 固定钻套国标GB/T 8045.1-1999
机床夹具零件及部件 固定钻套国标GB/T 8045.1-1999
1.本标准规定了0-85mm的固定钻套
2.引用标准:
GB/T
699-1988 优质碳素结构钢的技术条件
GB/T 1298-1986 碳素工具钢技术条件
GB/T
8044-19999 机床夹具零件及部件技术条件
JB/T 8045.5-1999 机床夹具零件及部件钻套螺钉
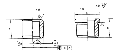
3.图示

d | D | D1 | H | t | ||||
基本尺寸 | 极限偏差F7 | 基本尺寸 | 极限偏差D6 |
|
|
| ||
>0~1 | +0.016 +0.006 | 3 | +0.010 +0.004 | 6 | 6 | 9 | -- | 0.008 |
>1~1.8 | 4 | +0.016 +0.008 | 7 | |||||
>1.8~2.6 | 5 | 8 | ||||||
>2.6~3 | 6 | 9 | 8 | 12 | 16 | |||
>3~3.3 | +0.022 +0.010 | |||||||
>3.3~4 | 7 | +0.019 +0.010 | 10 | |||||
>4~5 | 8 | 11 | ||||||
>5~6 | 10 | 13 | 10 | 16 | 20 | |||
>6~8 | +0.028 +0.013 | 12 | +0.023 +0.012 | 15 | ||||
>8~10 | 15 | 18 | 12 | 20 | 25 | |||
>10~12 | +0.034 +0.016 | 18 | 22 | |||||
>12~15 | 22 | +0.028 +0.015 | 26 | 16 | 28 | 36 | ||
>15~18 | 26 | 30 | 0.012 | |||||
>18~22 | +0.041 +0.020 | 30 | 34 | 20 | 36 | 45 | ||
>22~26 | 35 | +0.033 +0.017 | 39 | |||||
>26~30 | 42 | 46 | 25 | 45 | 56 | |||
>30~35 | +0.050 | 48 | 52 | |||||
>35~42 | 55 | +0.039 +0.020 | 59 | 30 | 56 | 67 | ||
>42~48 | 62 | 66 | ||||||
>48~50 | 70 | 74 | 0.040 | |||||
>50~55 | +0.060 +0.030 | |||||||
>55~62 | 78 | 82 | 35 | 67 | 78 | |||
>62~70 | 85 | +0.045 +0.023 | 90 | |||||
>70~78 | 95 | 100 | ||||||
>78~80 | 105 | 110 | 40 | 78 | 105 | |||
>80~85 | +0.071 +0.036 | |||||||
5.技术条件
材料:d≤26mm T10A按GB/T 1298的规定
d>26mm 20钢按GB/T
699的规定
热处理:T10A为58~6HRC;20钢渗碳深度为0.8~1.2mm,58~64HRC
1;所有标注为智造资料网zl.fbzzw.cn的内容均为本站所有,版权均属本站所有,若您需要引用、转载,必须注明来源及原文链接即可,如涉及大面积转载,请来信告知,获取《授权协议》。
2;本网站图片,文字之类版权申明,因为网站可以由注册用户自行上传图片或文字,本网站无法鉴别所上传图片或文字的知识版权,如果侵犯,请及时通知我们,本网站将在第一时间及时删除,相关侵权责任均由相应上传用户自行承担。
[complaint:内容投诉]
智造资料网打造智能制造3D图纸下载,在线视频,软件下载,在线问答综合平台 » 固定钻套规格(图文教程)

