3.1 定位装置设计示例
前面各节阐述了工件在夹具中定位的基本原理和基本方法。现以定位方案设计实例来说明定位原理和方法的运用。

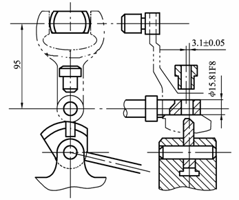
图3-1
图3-1为在拔叉上钻φ8.4mm孔的工序简图。加工要求是:φ8.4mm孔为自由尺寸,可一次钻削保证。该孔在轴线方向的设计基准是槽14.2
mm的对称中心线,要求距离为3.1±0.1mm;相对于φ15.81 F8 孔中心线的对称度要求为 0.2mm。本工序所用设备为 Z525立式钻床。试设计其定位方案。
1. 确定所需限制的自由度数、选择定位基准并确定各基准面上支承点的分布。
为保证所钻φ8.4mm孔与φ15.81 F8 中心线对称并垂直,需限制工件的
、
、
三个自由度;为保证所钻φ8.4mm孔在对称面(YZ面)内,还需限制
自由度;为保证尺寸3.1±0.1mm,还需限制
自由度。综上所述,应限制工件的
、
、
、
、
五个自由度。
定位基准的选择应尽可能遵循基准重合原则,并尽量选用精基准定位。故以φ15.81 F8 孔作为主要定位基准,设置四支承点限制工件的
、
、
、
四个自由度,以保证所钻孔与基准孔的对称度和垂直度要求;以51+00.1槽面作定位基准,设置一点,限制
自由度,由于它离φ15.81 F8 距离较远,故定位准确且稳定可靠;以槽面 B、C 或端面 D 作为止推定位基准,设置一点,限制
自由度。在 B、C、D 面上定位元件的布置有三种方案:一是以 D 面定位;二是以槽面 B、C 中的一个面定位;三是以槽面 B、C 的对称平面定位。
若以 D 面定位,因工序基准为14.2
mm槽的对称面(对称面至B面距离尺寸为7.1+00.05mm)。故其基准不符,误差为:ΔB1=0.05+0.105´2=0.26mm
已超过尺寸 3.1±0.1mm 的加工公差0.02的要求,故此方案不能采用。
若以 B、C 面的一个侧面定位,则基准不符误差为:ΔB2=0.05mm
若以 B、C 面的对称平面定位,则 ΔB3=0
在上述三个方案中,第一方案不能保证加工精度;第二方案具有结构简单,加工精度可以保证的优点;第三种方案定位误差为零,但结构比前两方案复杂。但从大批量生产的条件考虑,第三方案的定位元件使用偏心轮,虽然结构复杂,但能完成夹紧任务,因此第三方案较恰当。
2. 选择定位元件结构

图3-2 防转定位方案分析
φ15.81 F8 孔采用长圆柱销定位,其配合选为 15.81F8/h7。以51+00.1 mm槽面的定位可采用两种方案,如图3-2所示。一种方案是在其中一个槽面上布置一个防转销;另一方案是利用槽两侧面布置一个大削边销,与长销构成两销定位。从定位稳定性及有利于夹紧等考虑,后一方案较好。
工件沿Y轴的位置可采用如图6-29所示的圆弧偏心轮定心夹紧装置,实现 B、C 的对称面定位。如以 B 或 C 面定位,为了装卸工件,应采用可伸缩的定位销。这将会增加夹具结构的复杂性。
为了引导钻头,钻套在夹具中的布置如图3-3所示。

图3-3 定位夹紧元件的布置
以上步骤是设计定位装置的一般过程。在实际工作中,其先后顺序可有差异。又由于生产条件等不同,其具体结构也将各异,但分析问题的基本原理和方法是一致的。
1;所有标注为智造资料网zl.fbzzw.cn的内容均为本站所有,版权均属本站所有,若您需要引用、转载,必须注明来源及原文链接即可,如涉及大面积转载,请来信告知,获取《授权协议》。
2;本网站图片,文字之类版权申明,因为网站可以由注册用户自行上传图片或文字,本网站无法鉴别所上传图片或文字的知识版权,如果侵犯,请及时通知我们,本网站将在第一时间及时删除,相关侵权责任均由相应上传用户自行承担。
[complaint:内容投诉]
智造资料网打造智能制造3D图纸下载,在线视频,软件下载,在线问答综合平台 » 夹具设计教程-定位装置设计示例(图文教程)

