如图9-1所示卡丁车的设计概括了UGNX4.0的草图、成型特征、曲线、曲面、特征操作,曲线曲面操作,装配技术等知识,为更深入的掌握UGNX4.0软件的使用,以及设计理念,提供一案例。整车由上箱、底箱、齿轮、传动齿轮轴、传动轴、齿条、轮毂、传动箱、左右转向轴、弹簧、前柄等16个零件组成,如图9-2所示。接下来分别设计各部分,该车的设计可能不够合理不够完善,希望读者在学习完本章后能对该车作一改善,最好能够创建新模式的卡丁车,不过重要的不是车的结果,而在于绘制的过程,对各种操作的复习巩固。

图9-1 卡丁车整体效果图 图9-2 卡丁车结构分解图
9.1 上箱设计
一、实例分析
上箱的设计,可以看作由箱体、轮孔、推手、观察窗等几部分通过布尔求和或求差组合得到,根据各视图,抽取零件的基本结构特征,分层分步绘制。
二、学习目标
该零件的设计方法较为复杂,是多个基本设计工具应用的综合。
在学习本实例时,注意以下要点:
掌握草图的建立,以及各草图之间的相互位置关系;
掌握拉伸特征的基本设计方法和技巧;
掌握回转特征的基本设计方法和技巧;
掌握修剪体操作的技巧;
掌握倒圆角特征的基本设计方法和技巧。
三、设计过程
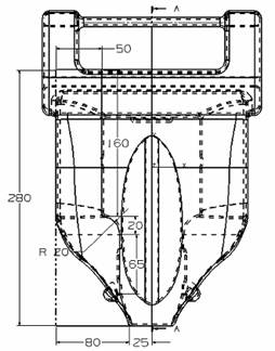
如图9-3所示,为上箱零件图,可以将其分成车身、推手、观察窗和车灯等几部分。零件图按第三角画法。绘制步骤如下:


图9-3 上箱图

(a) (b)
图9-4 右侧视图
1.选择“文件”|“新建”命令,新建名称为topbody.prt的部件文档,再选择“起始”|“建模”命令打开建模功能;
2.建立图层:
1~20层:实体 (SOLIDS);
21~40层:草图 (SKETCHES);
41~60层:曲线 (CURVES);
61~80层:基准 (DATUMS);
3.单击“成型特征”工具条上的“草图”按钮
,选择“YC-ZC”作为草图平面,单击“确定”进入草图模块,给草图命名“ct1”,根据右侧视图和前视图,可以看到车身可以通过图9-4(b)所示图形拉伸210得到,所以,首先要根据图9-4(a)图进行描图,约束关系,根据图示结构进行,单击“完成草图”按钮,然后将草图移动至21层;
4.拉伸草图,单击“成型特征”工具条上的“拉伸”按钮
,选择草图,因为车身结构是对称的,可以做一半,所以拉伸长度为“210/2”,得到图9-5所示的图形;

图9-5 拉伸草图ct1
5.作轮子部位的缺空,根据俯视图,如图9-6(a)所示,可以看出轮子部位可以由图9-6(b)草图绕虚线回转得到,以上一拉伸体的底面作为草图平面,如命名“ct2”图9-7所示,对图9-6进行描图,约束关系与图一至,得到9-8的效果,单击“完成草图”按钮,然后将草图移动至22层;

(a) (b)
图9-6 俯视图

图9-7 选择草图平面 9-8绘制草图
6. 回转草图ct2,单击“成型特征”工具条上的“回转”按钮
,选择ct2的实线为回转曲线,曲线为回转轴,“布尔操作”为“布尔求差”,起始角度为“0”,终止角度为“360”,得到图9-9所示效果;

图9-9 回转草图ct2
7.倒圆角,为图9-10(a)位置倒R15的圆角,单击“应用”,为图9-10(b)所示位置倒变化的圆角,选择后,单击“变半径”按钮
,依次改变半径如图9-10(c)所示,在图9-10(d)所示位置倒R5的圆角,在图9-10(e)所示位置倒变化圆角,下面是R5,上面是R20,单击“应

(a)

(b) (c)

(d) (e)

(f) (g)
用”,接着再为图9-10(f)倒R5的圆角,效果如图9-10(g)所示;
8. 创建基3个与坐标平面重合的基准平面,如图9-11所示,移动至61层;

图9-11 创建基准平面 图9-12 镜像体操作
9.通过菜单“插入”|“关联复制”|“实例”,选择“镜像体”,以YC-ZC基准平面作为对称面,镜像结果如图9-12所示,通过“布尔操作”将2部分“布尔求和”;
10.挖轴沟槽,如图9-13所示尺寸,挖出轮轴的槽子,以YC-ZC为草图平面,绘制草图,命名“ct3”如图9-14所示,单击“完成草图”按钮,然后将草图移动至23层;

图9-13 轴沟槽 图9-14 轴沟槽草图
11.通过“拉伸”,拉伸ct3,双向拉伸距离超过车身长度即可,并“布尔求差”,得到如图9-15所示效果;

图9-15 拉伸草图ct3
12.创建车身尾部,如图9-16所示尺寸结构,以YC-ZC为草图平面,命名为“ct4”绘制草图曲线,如图9-17所示,单击“完成草图”按钮,然后将草图移动至24层;

图9-16 车身尾部结构图 图9-17 尾部草图
13.双向拉伸ct4,拉伸距离为“240/2”,并作“布尔求和”,效果如图9-18所示;

图9-18拉伸车身尾部
14.倒圆角,按照图9-19所示位置分别倒R5和R7.5的倒圆;

(a)倒R5的圆角 (b)倒R7.5的圆角
图9-19 倒圆角
15.通过底部小圆槽的轴线做一个平行于XC-YC平面的基准平面,如图9-20所示;

图9-20 创建基准平面

图9-21 创建矩形腔 图9-22创建尾部抓手
16.开尾部槽,单击“腔体”按钮
,选择“矩形腔”,选择车身底面作为放置平面XC方向为水平方向,输入长度为“160”、宽度为“100”、深度为“200”(宽度保证超出车身就可以了),定位“腔”的YC方向中心线与YC-ZC平面的距离为“0”,另一条中心线与上一步所创建的基准平面距离为“150”,定位方式为“垂直”
,单击“确定”按钮,得到图9-21所示效果;
17.创建尾部抓手,单击“圆台”按钮
,输入“直径”为“10”,“高度”为“160”单击“确定”按钮,选择定位方式为“点到点”
,选择尾端的圆弧,如图9-22所示,单击“确定”按钮;
18.倒圆角,倒如图9-23所示的圆角;

图9-23倒圆角
![]()

图9-24 抽壳
19.抽壳,单击“外壳”按钮
,选择图9-24所示部位,设定“厚度”为“2”;
20.绘制上面观察窗,根据图9-25所示结构,先创建回转轴,单击“基准平面”按钮
,选择平行于“Xc-Yc”通过底面轴孔的基准平面,选择“按某一距离”
,方向为“-Xc”,偏置“47.5”,单击“确定”创建一个基准平面,选择平行于“XC-ZC”通过底面轴孔的基准平面,选择“按某一距离”
,方向为“-Yc”,偏置“20”,单击“确定”创建一个基准平面,如图9-26所示,然后单击“基准轴”按钮
,选择刚创建的2个基准平面,单击“确定”按钮创建一个基准轴作为观察孔的回转轴,如图9-27所示,单击“草图”按钮
,进入草图,选择上一个偏置“20”的基准平面,绘制图9-28所示草图,按图9-25所示的结构尺寸进行约束,单击“完成草图”按钮
,退出草图,将其移至25层,单击“回转”按钮
,得到如图9-29所示;

图9-25 观察窗结构尺寸

图9-26 创建基准平面 图9-27 创建基准轴

图9-28 创建草图


图9-29 回转草图

(a) (b) (c)

(d) (e) (f)
图9-30 修剪体操作

图9-31 抽壳操作

图9-32 车灯位置结构图
21.修剪回转体多余部分,如图9-29圈内部分,回转体与车身有重合,所以需要将这部分先翦掉,先创建一基准平面,如图9-30所示,单击“修剪体”按钮
,选择回转体,然后单击“刀具”按钮
,选择刚创建的基准平面,得到9-30(b)所示结果,重复修剪操作,“刀具”选择XC-ZC平面,得到9-30(c)所示结果,重复修剪操作,“选择过滤器”设定为“单个面”,“刀具”选择车身内表面,得到9-30(d)所示结果,重复修剪操作,选择修剪对象为车身,“选择过滤器”设定为“单个面”,“刀具”选择观察窗的上面3个面,注意修剪方向,如图9-30(e)所示,单击“确定”得到9-30(f)所示结果;
22.对观察窗抽壳,厚度为“2”,如图9-31所示;
23.制作车灯,根据图9-32所示结构,首先创建一基准平面,单击“基准平面”按钮
,选择XC-ZC平面,向上偏置“32.5-17.5”,如图9-33所示,然后进入草图,绘制如图9-34所示的草图,命名为ct5,,单击“完成草图”,移至26层,单击“球”按钮
,选择“直径,圆心”,输入直径为“16”,选择刚创建草图的圆心,选择“布尔求和”,如图9-35所示,单击“拉伸”按钮
,选择向下的方向,选择“布尔求差”得到如图9-36所示结果,
24.添绘定位部分,为了便于装配,在底面创建两个定位销孔,单击“草图”按钮
,选择底面作为草图平面绘制图9-37(a)所示的草图曲线,完成草图后,移至图层27层,单击“拉伸”按钮
,拉伸草图长度为“2”,选择“布尔求和”,得到图9-37(b)所示结果;
25.将基准移至64层,完成上车身的绘制。
26.保存,见光盘part/9/topbody.pat。

9-33 创建基准平面 9-34 车灯草图

图9-35 创建球 图9-36 拉伸出灯孔

(a) (b)
图9-37 添绘定位销孔
该文章所属专题:UG卡丁车设计实例教程
1;所有标注为智造资料网zl.fbzzw.cn的内容均为本站所有,版权均属本站所有,若您需要引用、转载,必须注明来源及原文链接即可,如涉及大面积转载,请来信告知,获取《授权协议》。
2;本网站图片,文字之类版权申明,因为网站可以由注册用户自行上传图片或文字,本网站无法鉴别所上传图片或文字的知识版权,如果侵犯,请及时通知我们,本网站将在第一时间及时删除,相关侵权责任均由相应上传用户自行承担。
[complaint:内容投诉]
智造资料网打造智能制造3D图纸下载,在线视频,软件下载,在线问答综合平台 » UG卡丁车设计实例教程(一)_上箱设计(图文教程)

